L’Apple Pencil 2 pour les derniers iPad Pro est utile, mais sa fonctionnalité est loin d’être aussi pratique que le stylet S Pen pour des appareils comme la gamme de smartphones Galaxy Note. Cependant, un brevet que l’on espère voir mis en œuvre avec le futur iPad Pro (2020) suggère qu’Apple pourrait avoir de grandes améliorations en réserve pour les prochaines tablettes haut de gamme, et notamment le stylet qui l’accompagne.
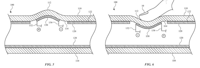
Ce brevet, découvert par AppleInsider, montre une série d’améliorations apportées au stylet Apple Pencil de l’iPad Pro, notamment le retour haptique (vibrations lorsque vous faites certaines choses) basé sur un système piézoélectrique, ainsi que la détection de la pression exercée lorsque vous tenez l’appareil.
Avec, le Apple Pencil peut bénéficier d’un système de notifications qui fonctionne à partir des vibrations de la lumière au bout des doigts de l’utilisateur, plus précisément à l’endroit où vous tenez le stylet. Son corps serait légèrement malléable, peut non seulement permettre des raccourcis avec différentes applications, mais également être sensible aux gestes, tout en garantissant une sensation de « naturel ».
Pour l’instant, l’Apple Pencil 2 est très utile, mais il présente quelques défauts. Si les fonctionnalités de ce brevet se retrouvent dans le stylet du nouvel iPad Pro, peut-être l’Apple Pencil 3, nous pourrions assister à une véritable réinvention de la façon dont nous utilisons l’outil.
Peut-être même que la tablette haut de gamme pourrait avoir une meilleure intégration du stylet que ce que nous attendons du Galaxy Note 20 de Samsung. Évidemment, il semble bizarre de comparer une tablette Apple haut de gamme à un smartphone Samsung haut de gamme.
Un simple brevet pour le moment
De tous les produits technologiques que vous pouvez acheter en ce moment, les iPad Pro et la gamme de smartphones Galaxy Note sont sans doute les deux qui dépendent le plus des stylets pour leur identité. Par conséquent, l’importance du stylet dans l’expérience est primordiale.
Si le contenu de ce brevet se retrouve dans le Apple Pencil 3 pour les nouveaux iPad Pro (2020), nous pourrions voir Apple retrouver son avance en matière de stylet en tant que fabricant du meilleur produit de productivité. Cela dit, les brevets ne se retrouvent pas toujours dans les produits finaux, alors pour l’instant, nous attendons que les nouveaux iPad Pro soient présentés (apparemment fin mars) avant de supposer que la concurrence est meilleure.



