Cette année s’annonce comme celle où Google présentera sa première Pixel Watch. Des images marketing ont fuité, révélant une montre avec un cadran rond. L’appareil sera équipé de Wear OS et, comme pour ses smartphones Pixel, Google dotera la montre de fonctionnalités exclusives que les autres montres Wear OS ne recevront pas, au moins dans un premier temps.
L’une de ces fonctionnalités pourrait avoir été découverte par LetsGoDigital dans un dépôt de brevet effectué mi-2020 auprès de l’Organisation mondiale de la propriété intellectuelle (OMPI) par Google, intitulé « Skin interface for Wearables: Sensor fusion to improve signal quality ».
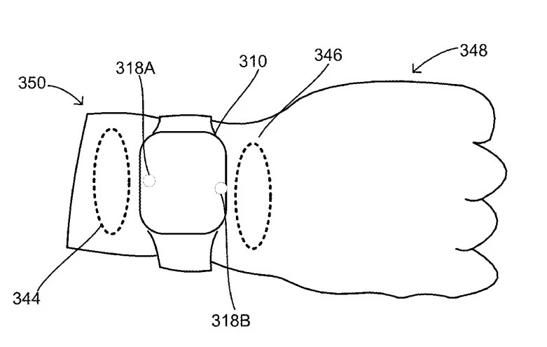
Avec la technologie mentionnée dans la demande de brevet, les utilisateurs de Pixel Watch seraient en mesure d’utiliser des gestes sur leur peau qui pourraient aider à contrôler la montre. Quelque chose d’analogue est également possible pour ce que LetsGoDigital voit comme une variante des écouteurs Pixel Buds Pro de Google. Avec cette interface dite « cutanée », des gestes tels que des balayages ou des tapotements sont effectués sur la peau de l’utilisateur dans des zones proches de l’endroit où le wearable est porté.

Pour les écouteurs, la peau devant l’oreille pourrait être un bon endroit pour faire des « gestes de la peau ». Pour un appareil comme la Pixel Watch, le poignet, l’avant-bras ou le dos de la main pourraient être les emplacements parfaits pour effectuer un geste de glissement.
« L’interface cutanée » représenterait une nouvelle option de saisie pour les écouteurs, les smartwatches et même les lunettes connectées. Les gestes effectués sur la peau fonctionnent, car ils créent une « onde mécanique » qui peut être lue par le wearable à l’aide de plusieurs capteurs et d’un accéléromètre. Le mois dernier, Sony a introduit une fonction appelée « Wide Area Tap » pour ses LinkBuds, qui peut déterminer si l’utilisateur a tapé sur la peau devant son oreille, ce qui est suivi d’un geste de saisie.

Une annonce en mai ?
En 2018, Huawei travaillait sur un système analogue pour une smartwatch. Les utilisateurs écrivaient une lettre à l’aide d’un de leurs doigts en appuyant sur la peau et la lettre apparaissait sur l’écran de la smartwatch. En attendant, une fois que la technologie de Google aura reçu un brevet, il appartiendra au géant de la technologie de décider s’il veut inclure « l’interface de la peau » sur la Pixel Watch et/ou un modèle Pixel Buds nouvellement mis à jour.
Nous pourrions voir la Pixel Watch présentée en mai lors de la conférence des développeurs Google I/O. Quant à la prochaine version des Pixel Buds, c’est le silence radio. Néanmoins, il convient de mentionner que les technologies brevetées ne font pas toujours leur apparition sur les produits commerciaux.



