Bien qu’Apple ait réintroduit sa technologie de recharge sans fil magnétique, MagSafe, avec la série d’iPhone 12, la société n’a pas encore commencé à prendre en charge la recharge sans fil inversée pour ses accessoires, même si des rapports ont suggéré qu’elle le ferait cette année. Cependant, il semble maintenant que le géant de Cupertino ait l’intention d’incruster la technologie de recharge sans fil inversée avec les futurs iPhone ou iPad. L’objectif est de permettre aux utilisateurs de charger leurs accessoires par une technologie de recharge sans fil à travers l’écran.
Un brevet déposé par Apple auprès de l’Office américain des brevets et des marques (USPTO) décrit un nouveau système de recharge sans fil pour les iPhone qui pourrait permettre aux utilisateurs de recharger sans fil leurs accessoires comme l’Apple Watch ou les AirPods par l’écran de l’appareil. Intitulé « Through-Display Wireless Charging », le brevet a été déposé en mars 2021 et a été publié à la fin de l’année dernière. Il suggère de transformer l’écran de l’iPhone en une surface de recharge sans fil pour les accessoires.
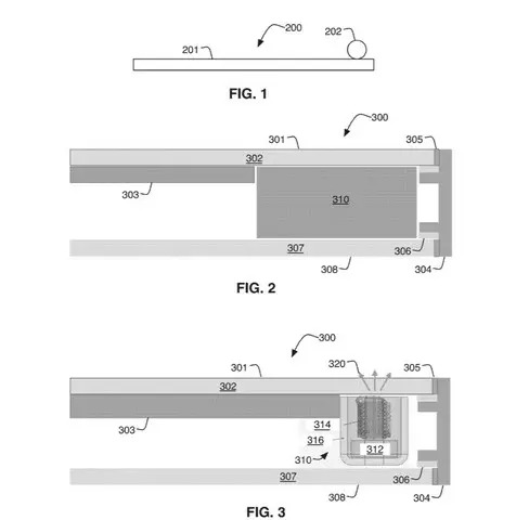
Bien que le brevet fournisse des descriptions vagues sur le fonctionnement de la technologie de charge sans fil à travers l’écran, les dessins inclus suggèrent qu’une certaine partie de l’écran pourrait être utilisée pour le chargement sans fil. Par conséquent, la section particulière de l’écran pourrait ne pas être en mesure d’afficher du contenu lorsque la fonction est activée.
« Une configuration peut inclure un ordinateur, une tablette ou un smartphone qui est configuré pour permettre à un stylet ou autre accessoire d’être chargé sans fil sur une face du dispositif électronique personnel, par exemple, à travers un écran du dispositif électronique personnel », peut-on lire dans le brevet.
Un simple brevet aujourd’hui
Bien que les détails concernant cette technologie restent flous pour le moment, il n’en reste pas moins que les futurs utilisateurs d’iPhone ou d’iPad pourraient être en mesure de charger leur Apple Pencil, leurs AirPods ou leur Apple Watch en les plaçant sur l’écran du smartphone ou de la tablette. Cela pourrait être utile dans certaines situations.
Néanmoins, nous devrons voir comment la technologie fonctionne dans le monde réel si ou quand Apple la lance sur le marché commercial. Cependant, comme c’est le cas pour d’autres brevets d’Apple, celui-ci pourrait également ne pas voir le jour sur le marché commercial. Nous vous suggérons donc de prendre cette information avec un grain de sel.




