AirDrop d’Apple permet à ceux qui utilisent des appareils électroniques comme les iPhone de transférer différents types de fichiers vers un autre appareil électronique. Autrement dit, le système de transfert de fichiers sans fil d’Apple, AirDrop, est assez pratique. En fait, il a inspiré à Android la création de sa propre fonction « Nearby Share ».
À l’ère d’une connexion Internet toujours plus rapide et des paquets offrant même plusieurs dizaines de gigaoctets, nous partageons de plus en plus de fichiers en ligne sur de longues distances. Pour ce faire, nous utilisons des systèmes de messagerie ou le cloud. C’est la méthode la plus pratique, mais ce n’est pas toujours la meilleure option. Si nous devons envoyer un fichier à un appareil situé à proximité, et que nous ne voulons pas gaspiller notre forfait de données, la meilleure solution reste la connexion Bluetooth ou Wi-Fi.
Cependant, le transfert de fichiers plus volumineux entre les appareils utilisant AirDrop devient parfois problématique. Certains se sont plaints de ne pas pouvoir transférer des fichiers volumineux, de ne pas pouvoir transférer des fichiers volumineux entre des iDevices ou du fait qu’il faut beaucoup de temps aux appareils pour les transférer.
Heureusement, Apple étudie une nouvelle technologie qui accélérera le transfert de fichiers volumineux entre des appareils tels que les iPhone, et un nouveau brevet le prouve. En effet, il semble que Apple travaille sur une méthode plus avancée pour transférer des fichiers à des vitesses plus élevées avec AirDrop.
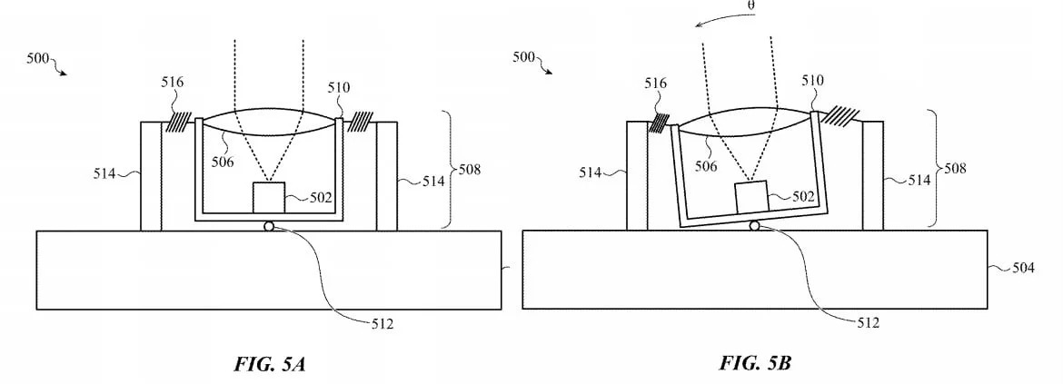
Selon un brevet délivré par l’USPTO et relayé par AppleInsider, le géant basé à Cupertino travaille sur l’utilisation de lasers pour transférer des fichiers plus rapidement. Cette méthode peut présenter de multiples avantages pour les utilisateurs finaux, notamment la sécurité et la vitesse de transfert. D’une part, avec un laser, le flux de données sera très ciblé puisque les données seront envoyées par un champ directionnel très étroit. Cela signifie que le transfert de données peut être plus sûr, assurant les utilisateurs que les données qu’ils envoient seront reçues par le bon appareil. De plus, comme mentionnée précédemment, l’utilisation de lasers peut également augmenter les vitesses de transfert.

Un simple brevet ?
À l’heure actuelle, vous vous demandez probablement comment vous allez finir par aligner vos appareils pour utiliser des lasers pour transférer des fichiers. Eh bien, il s’avère qu’Apple propose d’utiliser une lentille mobile qui peut modifier la trajectoire du laser. Le laser sera ainsi automatiquement dirigé vers l’appareil récepteur sans que l’utilisateur ait à se soucier de l’alignement.
Le brevet semble vraiment intéressant. Toutefois, le dépôt d’un brevet ne signifie pas que la société travaille réellement sur quelque chose de ce genre. Évidemment, cela pourrait n’être qu’une des nombreuses idées auxquelles pensent les ingénieurs d’Apple.



