L’année dernière, Samsung a fait son entrée sur le marché encore relativement niche des bagues connectées avec la Galaxy Ring. Bien qu’aucune seconde génération n’ait encore été annoncée, il est fort probable que le géant coréen travaille déjà sur un successeur. En attendant, un nouveau brevet déposé par Samsung nous donne un aperçu de ce que la marque envisage pour ses futurs modèles.
Si ces innovations ne sont pas destinées à la prochaine Galaxy Ring, elles pourraient bien être intégrées dans les générations suivantes. Et une chose est sûre : Samsung ne compte pas se limiter au simple suivi de santé.
Une Galaxy Ring pensée pour l’écosystème Samsung
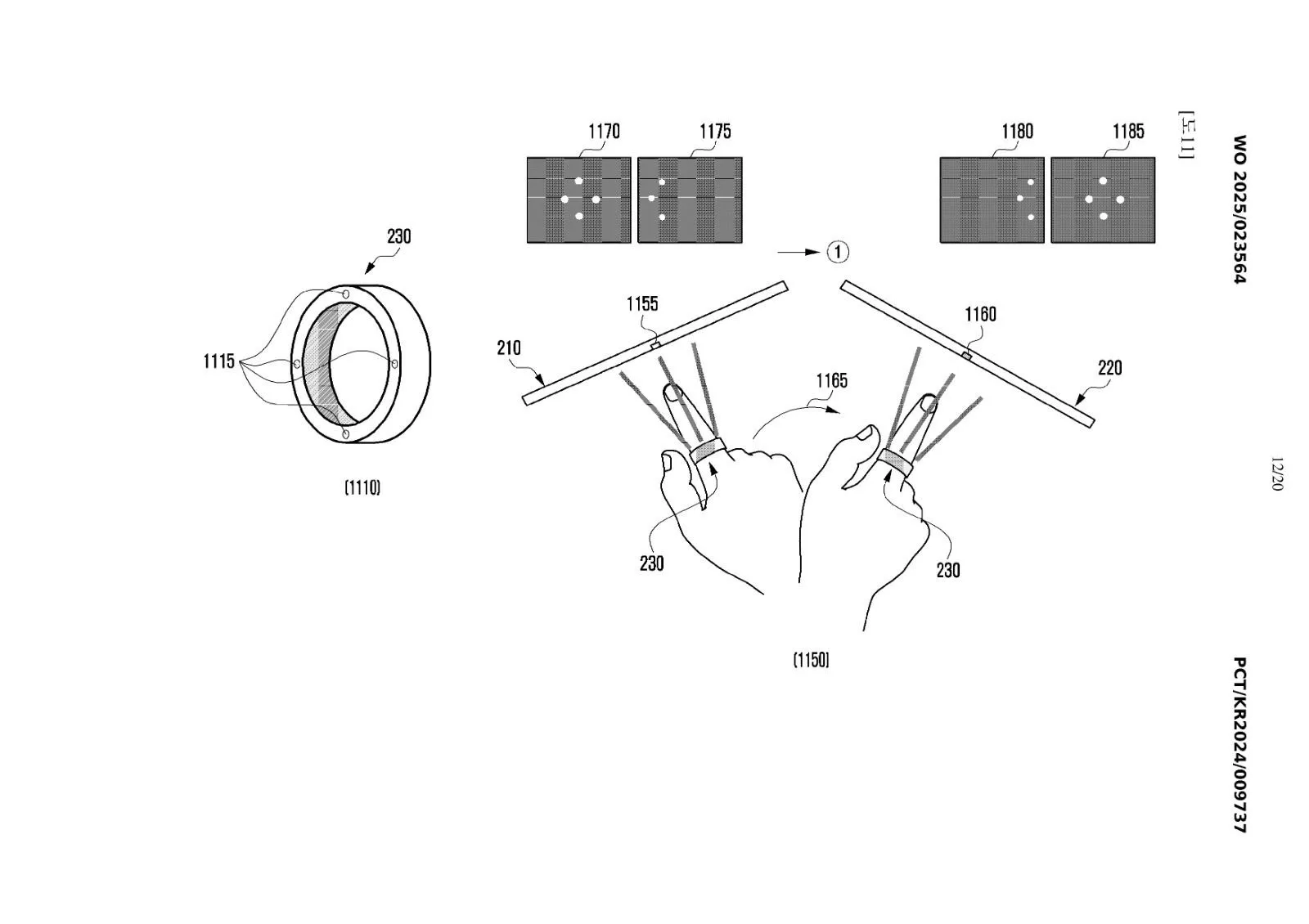
D’après ce brevet récemment repéré, Samsung souhaite faire de sa bague connectée un véritable outil de contrôle multi-appareils. En d’autres termes, la Galaxy Ring pourrait servir de pont entre plusieurs dispositifs, comme un ordinateur portable et une tablette, et offrir un moyen intuitif de naviguer et de transférer du contenu entre eux.

L’idée ressemble à ce que Huawei a récemment démontré avec un simple geste de la main permettant de déplacer des fichiers entre écrans. Si une telle capacité venait à être intégrée à une future Galaxy Ring, cela représenterait bien plus qu’un simple capteur de santé, en ouvrant la porte à une interaction fluide et naturelle entre plusieurs appareils connectés.
Un successeur spirituel au S Pen Bluetooth ?
Aujourd’hui, la première génération de Galaxy Ring permet d’interagir avec un smartphone Galaxy, notamment pour prendre des photos ou silencier une alarme via un double pincement des doigts. Mais les fonctionnalités pourraient être grandement améliorées si l’on en croit ce brevet.
Cette idée prend encore plus de sens quand on se souvient que Samsung a supprimé la connectivité Bluetooth du S Pen sur le Galaxy S25 Ultra. Avant cela, le S Pen pouvait être utilisé pour contrôler la musique, faire des zooms à distance et même naviguer dans une présentation PowerPoint.
Samsung pourrait donc chercher à repositionner ses accessoires connectés et à encourager les utilisateurs à se tourner vers la Galaxy Ring ou la Galaxy Watch pour ces interactions avancées.
Cependant, le S Pen n’a jamais été conçu pour transférer du contenu entre appareils. Si la Galaxy Ring venait à offrir cette fonction, ce serait une nouvelle dimension d’intégration entre les dispositifs Galaxy.

Comment cela fonctionnerait-il ?
Les schémas du brevet révèlent que la bague connectée et les autres appareils concernés devront être connectés au même réseau sans fil pour activer ces interactions. L’un des effets clés de cette technologie, selon Samsung, est de fournir une continuité naturelle entre les écrans de plusieurs appareils électroniques.
Reste à voir comment cela se traduira concrètement et si cette technologie verra réellement le jour. Tous les brevets ne se transforment pas en produits, mais ce concept semble en parfaite adéquation avec la vision de Samsung en matière d’écosystème connecté.
Si l’on en croit ce brevet, Samsung semble vouloir élever la Galaxy Ring au-delà du simple tracker de santé. Avec des fonctionnalités de contrôle multi-appareils, elle pourrait devenir un outil central dans l’écosystème Galaxy, simplifiant l’interaction entre téléphones, tablettes et ordinateurs portables.
Reste à savoir quand et comment ces innovations verront le jour. Mais une chose est sûre : Samsung ne se contente pas de suivre la tendance des bagues connectées, il cherche à redéfinir leur utilité.



