OPPO a récemment obtenu un brevet déposé auprès de l’Organisation Mondiale de la Propriété Intellectuelle (OMPI), détaillant une méthode simplifiée et plus efficace pour intégrer des systèmes de surveillance de la pression artérielle dans les montres connectées.
Cette innovation pourrait améliorer à la fois la conception et la fonctionnalité des dispositifs portables, en éliminant certaines limitations des technologies actuelles.
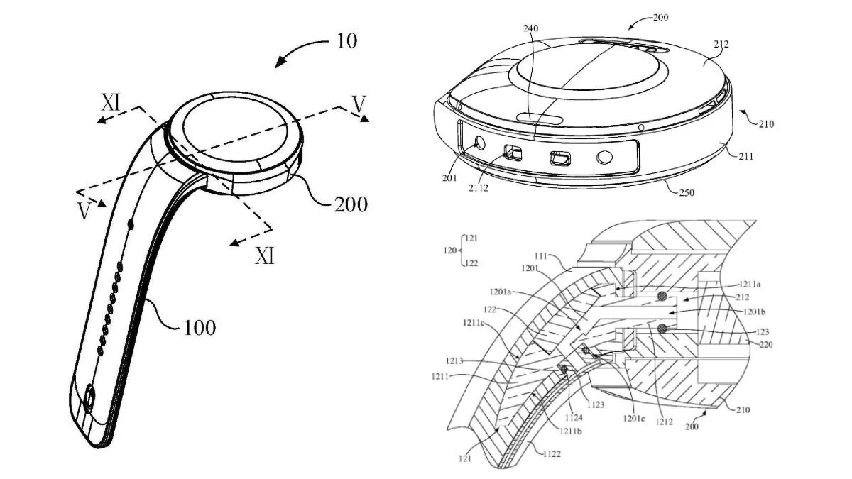
Actuellement, des montres connectées comme la Huawei Watch D2 utilisent un système d’airbag intégré dans le bracelet pour mesurer la pression artérielle. Ce système repose sur une pompe à air située dans le boîtier de la montre, reliée à un airbag par une buse d’air.
Bien que fonctionnel, ce design présente un inconvénient majeur : la buse d’air occupe de l’espace précieux dans le boîtier, limitant la place disponible pour d’autres composants, comme des capteurs supplémentaires ou des batteries plus performantes.
La solution de OPPO
Le brevet d’OPPO propose de supprimer la buse d’air en intégrant le chemin d’air directement dans le bracelet. Voici comment fonctionne ce système innovant :
- Chemin d’air intégré : La pompe à air est toujours logée dans le boîtier de la montre, mais le chemin d’air est transféré au bracelet via un système de connexion.
- Connexion optimisée : Une assemblée de connexion relie le boîtier et le bracelet, permettant à l’air de circuler jusqu’à l’airbag dans le bracelet sans nécessiter de buse séparée.
Cette approche simplifie le processus de fabrication tout en libérant de l’espace dans le boîtier. Cela pourrait permettre d’inclure des capteurs supplémentaires, d’améliorer l’esthétique ou de réduire l’encombrement de la montre.
Quand cette technologie sera-t-elle déployée ?
Bien que OPPO ait obtenu ce brevet, il reste incertain quand la marque l’intégrera dans ses produits. Les rumeurs indiquent que la OPPO Watch X2, prévue prochainement, pourrait inclure une fonction de surveillance de la pression artérielle. Cependant, il n’est pas confirmé que cette technologie brevetée sera utilisée dans ce modèle spécifique.
La OPPO Watch X2 devrait se décliner en trois versions :
- OPPO Watch X2 Standard
- OPPO Watch X2 Pro : une édition premium, qui pourrait être rebaptisée OnePlus Watch 3 pour certains marchés internationaux.
Les fonctionnalités attendues incluent :
- Surveillance de la pression artérielle et ECG,
- Mesure de la température au poignet,
- Un check-up santé de 60 secondes,
- Suivi de la condition physique avec support GPS.
Le brevet de OPPO pourrait représenter une avancée majeure dans le domaine des montres connectées, en rendant la surveillance de la pression artérielle plus compacte et efficace. Si cette technologie est intégrée dans les futures montres, comme la OPPO Watch X2, cela pourrait permettre à OPPO de se démarquer sur un marché de plus en plus concurrentiel. Reste à savoir si cette innovation arrivera rapidement sur le marché ou restera en phase de développement pour encore quelques années.



