La concurrence dans le secteur du smartphone pliable devenant intense, Samsung doit trouver un moyen de différencier ses offres et de maintenir son avance sur le marché. Alors que d’autres fabricants jouaient la carte de la sécurité, Samsung a mis le paquet sur ses smartphones pliables, ce qui lui a valu non seulement une part de marché non négligeable, mais lui a également permis d’acquérir un savoir-faire considérable. Jusqu’à présent, l’entreprise hésitait à adopter un design sans plis comme le faisaient ses concurrents, craignant qu’il ne soit pas propice à une longévité à long terme. Le géant sud-coréen a finalement trouvé un moyen d’y parvenir sans nuire à la durabilité de l’appareil.
Nous nous attendons toujours à ce que les smartphones s’améliorent d’année en année, mais si l’on en croit les dernières rumeurs autour du Samsung Galaxy Z Fold 5, le smartphone pliable va venir avec une amélioration clé en termes de conception.
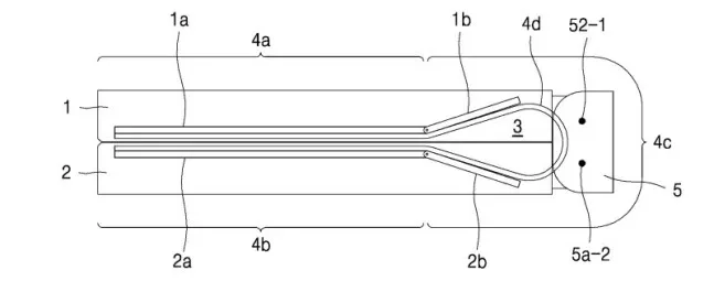
Selon le média sud-coréen Naver relayé par SamMobile, Samsung va utiliser une charnière en forme de goutte d’eau dans le Galaxy Z Fold 5, ce qui signifie que l’appareil serait capable de se plier complètement à plat, sans aucun espace entre les deux moitiés de l’écran. En effet, cette charnière permet à l’écran principal de s’enfoncer à l’intérieur du châssis du smartphone pour empêcher l’écran interne de se froisser.
Plusieurs smartphones de fabricants chinois utilisent déjà cette approche de conception pour leurs dispositifs pliables, mais au prix d’une résistance totale à l’eau. Cependant, Samsung va apparemment ajouter la nouvelle forme de charnière tout en maintenant une classification IPX8 pour le téléphone.
Une bonne solution
Le Galaxy Z Fold 4 est un excellent smartphone pliable, et je ne dirais pas qu’il a des problèmes de durabilité, mais une charnière en goutte d’eau signifie moins de stress sur le pliage de l’écran, et cela devrait signifier que la fiabilité de l’appareil va encore augmenter.
Nous avons vu des améliorations constantes dans la technologie des smartphones pliables au fil des ans, et ces appareils sont maintenant très en avance sur ce qu’ils étaient au début — et cela les rend plus attrayants pour les consommateurs.

Le rapport indique que Samsung détient en fait un brevet pour une charnière de ce type depuis 2016. On ne sait pas exactement pourquoi il n’a pas été mis en œuvre avant maintenant, mais cela pourrait avoir un rapport avec le perfectionnement de la technologie ou le fait de la rendre suffisamment bon marché pour la mettre en œuvre.
La concurrence arrive
Le prochain grand lancement de smartphone pliable que nous verrons pourrait être le Pixel Fold de Google : il pourrait être là dès mai 2023. Des rumeurs font également état d’un iPhone pliable, mais il faudra peut-être attendre 2024 ou 2025 pour voir apparaître cet appareil.
Quoi que fassent les autres fabricants, Samsung aura toujours une longueur d’avance sur eux, et elle espère que cela suffira à donner au Z Fold et à la série Z Flip un avantage sur un marché qui sera de plus en plus concurrentiel.



