Microsoft a une brillante idée pour une façon d’utiliser la charnière qui relie les deux sections de ses ordinateurs portables ou ses dispositifs à double écran pour fournir un refroidissement plus efficace pour l’ordinateur portable.
La société explore l’idée de faire fonctionner une chambre à vapeur — qui est couramment utilisée pour refroidir les ordinateurs portables — dans les deux sections d’un ordinateur portable, comme l’indique un brevet qui a été repéré sur Free Patents Online par Windows Latest.
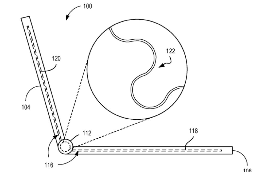
Ce brevet décrit une « chambre de vapeur s’étendant de la première partie à la deuxième partie le long de la charnière ». En d’autres termes, dans un format d’ordinateur portable traditionnel, la chambre s’étend de la base à l’écran en passant par la charnière.
Quel est l’intérêt de ça ? Eh bien, les véritables composants générateurs de chaleur — en particulier le processeur et le GPU dans les modèles dotés d’une solution graphique discrète — sont dans la base, c’est donc là que le refroidissement peut être un problème plutôt épineux — particulièrement dans les ordinateurs portables toujours plus minces. Comme l’observe Microsoft, la partie écran d’un ordinateur portable « peut fournir une surface effective pour le transfert passif de chaleur », bien que le transfert réel de chaleur de la base à l’écran puisse être assez délicat.
L’article décrit donc une méthode selon laquelle la solution de chambre à vapeur connectée proposée ne subira aucune déformation après des flexions répétées (ouverture et fermeture de l’appareil), tout en transférant une quantité suffisante de chaleur pour fournir un réel soulagement à la section de base soumise à une température élevée.

Un simple concept pour le moment
D’autres méthodes comme l’utilisation d’un « dispositif de transfert de chaleur monophasé » en cuivre ou en graphite pourraient assurer un transfert de chaleur efficace à travers la charnière, mais seraient confrontées à des problèmes d’usure et de potentielle déformation en raison des flexions répétées qui s’exercent sur celles-ci, jour après jour.
Bien que ce concept semble davantage cibler les ordinateurs portables, les appareils à double écran comme le nouveau Surface Neo sont confrontés aux mêmes défis. Bien que le Neo puisse se composer de deux écrans, l’une de ces sections d’affichage portera évidemment le CPU, et sera donc confrontée aux mêmes — ou du moins très analogue — problèmes que la partie de base d’un ordinateur portable traditionnel.
Bien sûr, rappelez-vous que Microsoft ne fait qu’explorer un tel concept, et ce n’est pas parce que l’idée de la technologie a été brevetée que nous la verrons dans un produit fini.



