Samsung continue de repousser les limites de l’innovation en matière de smartphones pliables. Après avoir maîtrisé les designs à clapet et en forme de livre, l’entreprise explore désormais des concepts encore plus audacieux, notamment des appareils à triple et quadruple pliage.
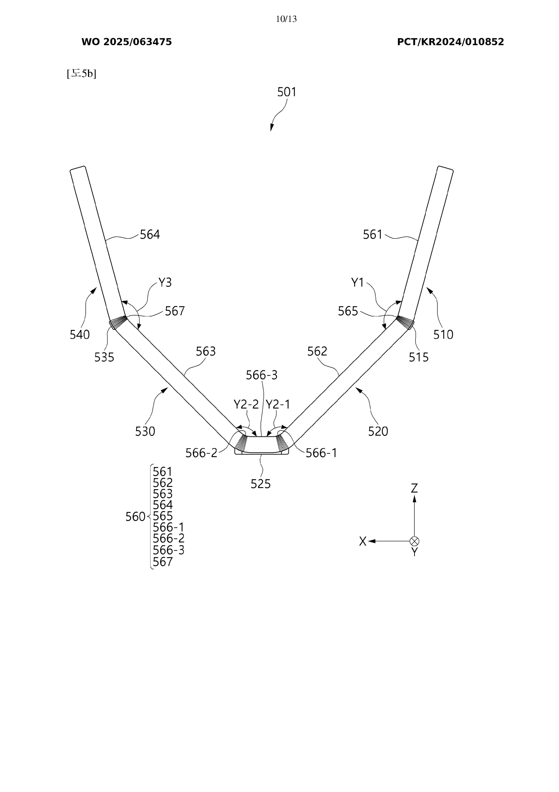
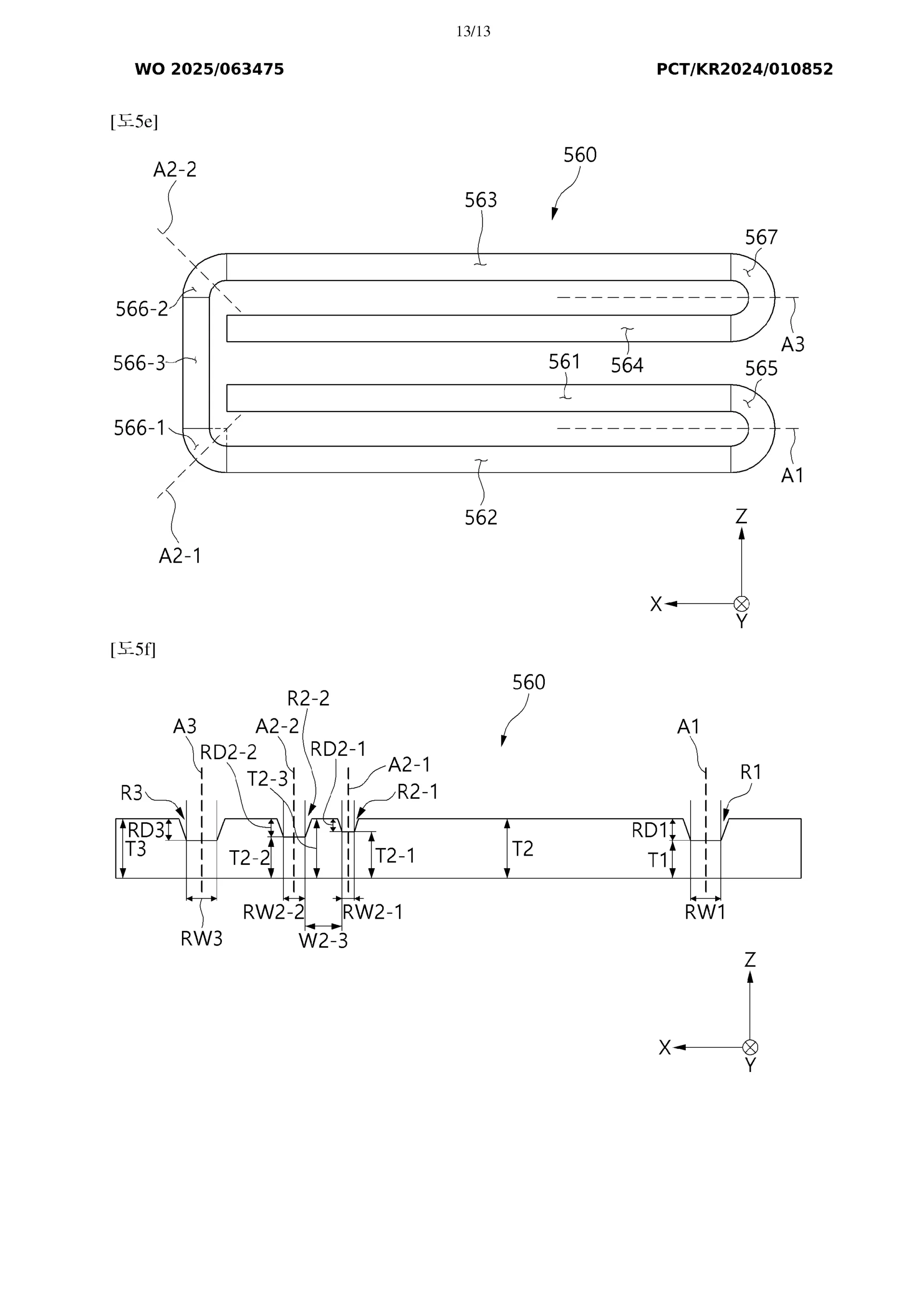
Comme le souligne SamMobile, un récent brevet déposé par Samsung décrit un dispositif doté de quatre panneaux connectés par trois charnières, formant ainsi un écran pliable en quatre sections.
Ce brevet présente un appareil doté de quatre panneaux horizontaux reliés par trois charnières, le tout sous un seul écran pliable. Les dessins qui l’accompagnent laissent entrevoir un smartphone à quatre volets, le concept le plus audacieux de Samsung à ce jour. Il s’agit toutefois d’un début ; il pourrait s’agir d’une ébauche, sujette à des ajustements, voire d’une acquisition stratégique de brevets visant à consolider l’idée pour un avenir où la technologie et la demande du marché s’aligneront.

Parallèlement, Samsung semble plus proche de lancer un smartphone à triple pli. Des informations issues de la base de données de la GSMA révèlent l’existence d’un appareil portant le numéro de modèle SM-F968, identifié sous le nom interne « Q7M ». Deux variantes ont été repérées : SM-F9680 pour la Chine et SM-F968N pour la Corée du Sud, suggérant une disponibilité initialement limitée à ces marchés.

Ce modèle, doté de trois panneaux et de deux charnières, offrirait une expérience utilisateur enrichie en combinant les fonctionnalités d’un smartphone et d’une tablette. Bien que la date de lancement précise reste inconnue, des rapports indiquent que Samsung pourrait dévoiler cet appareil au cours du troisième trimestre de 2025.
Stratégie et perspectives
L’engagement de Samsung dans le développement de ces nouveaux facteurs de forme témoigne de sa volonté de rester à la pointe de l’innovation dans le secteur des smartphones pliables. Cependant, la commercialisation de tels dispositifs dépendra de divers facteurs, notamment la demande du marché, les défis techniques liés à la durabilité des écrans pliables et les coûts de production.
En conclusion, bien que Samsung explore activement des concepts de smartphones à triple et quadruple pliage, il est probable que l’entreprise adopte une approche progressive, en évaluant la réception du marché et en affinant ses technologies avant une commercialisation à grande échelle.



