Selon la rumeur, Microsoft aurait un appareil à double écran en préparation, alias Surface Centaurus, et qui pourrait éventuellement être présenté dès le mois d’octobre. Bien que ce soit purement spéculatif à ce jour, la firme a de brillantes idées sur la façon de bien faire fonctionner un tel ordinateur pliable, la dernière innovation étant une bobine électromagnétique multiface pour la charge sans fil.
Késako ? Certes, cela peut paraître assez « ennuyeux », et si vous lisez le brevet repéré par Windows Latest, ce terme encore plus son sens. Cependant, en lisant un peu plus les nombreux paragraphes du brevet, vous découvrirez que Microsoft a une astuce qui pourrait aider les utilisateurs utilisant le NFC et la charge sans fil (inductive) à mieux fonctionner avec un 2-en-1 à double écran.
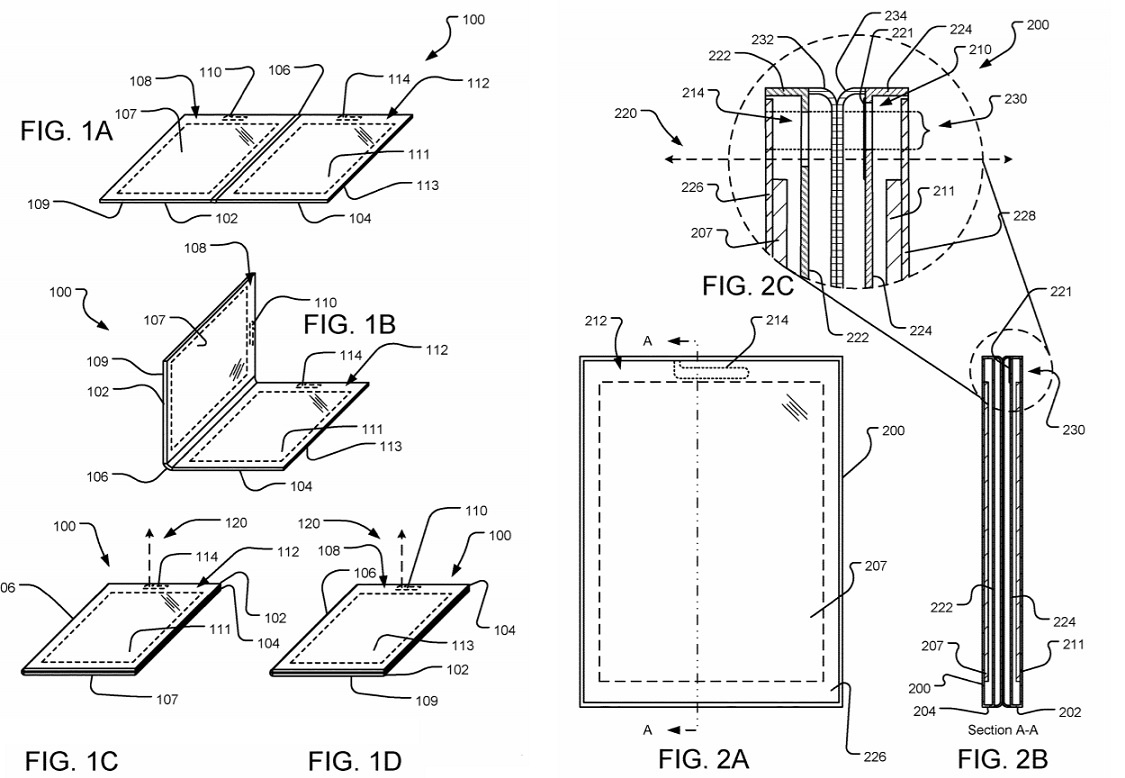
Comme Microsoft le note dans le brevet, la conception d’un ordinateur portable à double écran peut poser des défis en matière d’orientations de l’appareil (fermé, mode ordinateur portable, mode tente, à plat sur le bureau, entièrement replié pour être utilisé comme tablette).
Microsoft observe : « Les multiples configurations physiques présentent un défi lors de la conception d’un accès magnétique aux bobines électromagnétiques à l’intérieur d’un dispositif informatique, en particulier en présence d’un châssis métallique, d’une ossature en métal et d’autres composants métalliques ».
En outre, le brevet note que les différentes orientations du périphérique à double écran représentent une opportunité de pouvoir utiliser les fonctionnalités telles que la fonctionnalité NFC ou la charge inductive sur plusieurs côtés du périphérique, quelle que soit la configuration utilisée.

Un brevet alléchant
Le problème réside dans le fait que, dans certaines orientations d’un 2-en-1, les éléments métalliques susmentionnés du châssis peuvent « réduire fatalement les opérations qui reposent sur des bobines électromagnétiques internes » avec des fonctionnalités telles que l’utilisation de la charge inductive. Ainsi, le brevet concerne une bobine électromagnétique offrant un accès magnétique multi-faces pour résoudre ces problèmes dans un tel dispositif pliable. Cela signifie que le périphérique 2-en-1 bénéficierait d’une bien plus grande flexibilité en ce qui concerne la possibilité d’utiliser la charge sans fil inductive.
Comme toujours avec n’importe quelle technologie brevetée, personne ne peut deviner si cela va réellement faire la différence pour un produit final. Mais cela semble être une idée assez intelligente pour aider à charger sans fil un matériel à double écran tel que le fameux Surface Centaurus de Microsoft.



