Les smartphones pliables ont ouvert la voie à des designs innovants, mais l’industrie semble déjà regarder vers l’avenir avec une nouvelle tendance émergente : les téléphones à écran enroulable. Après des rumeurs sur des projets analogues chez Samsung et Motorola, Honor pourrait être la prochaine marque à se lancer dans cette course technologique.
Un brevet récemment découvert et enregistré auprès de l’Administration Nationale Chinoise de la Propriété Intellectuelle (CNIPA) suggère que Honor travaille sur un smartphone équipé d’un écran flexible coulissant ou enroulable. Le document met en avant une structure de support essentielle pour permettre ce mécanisme coulissant, comparable à la manière dont une charnière est utilisée dans les smartphones pliables.
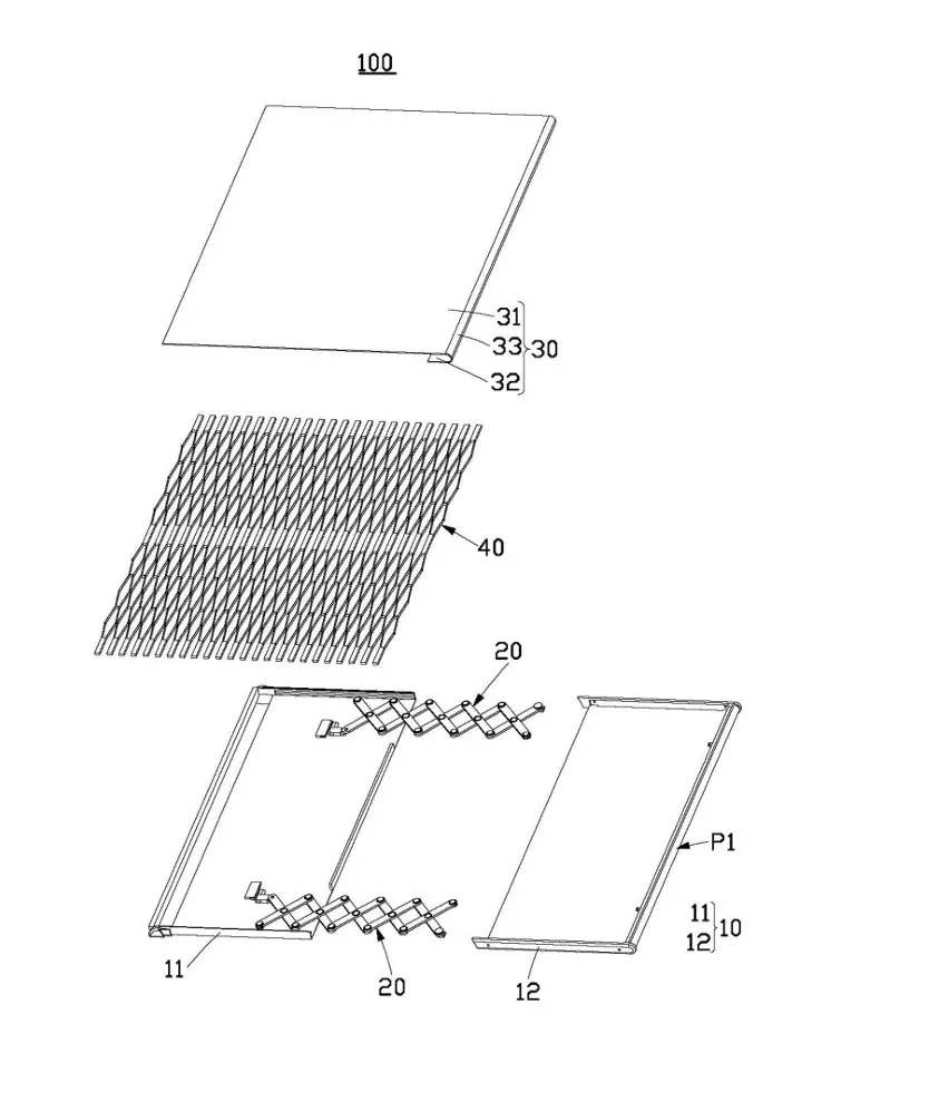
L’écran serait divisé en deux sections distinctes :
- Une partie fixe, qui reste immobile.
- Une partie coulissante, qui se déploie latéralement pour agrandir l’écran.

Les deux sections seraient connectées par des poutres élastiques, et le mouvement serait assuré par un moteur linéaire associé à un mécanisme en forme de ciseaux. Cette conception vise à offrir une stabilité optimale pour l’écran flexible, tout en éliminant les éventuels espaces ou décalages qui pourraient compromettre l’expérience utilisateur.
Un concept prometteur, mais pas encore confirmé par Honor
Bien qu’innovant, ce brevet ne garantit pas qu’un tel appareil verra le jour. Comme souvent dans le secteur technologique, de nombreux brevets restent à l’état de concept. Cependant, avec des concurrents comme Samsung et Motorola déjà en phase avancée de développement sur des projets similaires, Honor pourrait être tenté d’accélérer le processus pour ne pas manquer cette opportunité de marché.
Honor possède un solide palmarès dans le domaine des smartphones pliables, comme le démontre son Magic V3, considéré comme le pliable le plus léger et le plus fin du marché. Bien que le pli reste visible, il est beaucoup moins prononcé que sur d’autres modèles concurrents. Cela témoigne du savoir-faire de la marque en matière de conception de dispositifs à écran flexible.
Si Honor parvient à développer un téléphone à écran enroulable avec une mécanique fluide et un design sans compromis, cela pourrait marquer une véritable révolution. Imaginez un smartphone qui agrandit son écran automatiquement, sans manipulation complexe ni charnières visibles — une innovation qui redéfinirait l’interaction avec nos appareils.
Une tendance qui s’intensifie
Honor pourrait ne pas être le premier à commercialiser un smartphone à écran enroulable. Des rumeurs suggèrent que Samsung pourrait lancer un tel modèle dès le second semestre 2025, potentiellement aux côtés de ses prochains pliables, les Galaxy Z Fold 7 et Z Flip 7.
Quoi qu’il en soit, les smartphones à écran enroulable pourraient bien être la prochaine grande étape dans l’évolution des smartphones. Si Honor, fort de son expertise dans les pliables, réussit à concrétiser ce projet, il se pourrait que nous assistions à un changement de paradigme dans l’industrie mobile.



