Entre 2000 et 2010, Apple a gagné en réputation pour étonner le monde avec de nouveaux produits assez révolutionnaires qui sont finalement devenus emblématiques et populaires au fil des années. Mais, plus les années défilaient, et plus les innovations étaient synonymes de mises à niveau de leur équipement, par opposition à de nouvelles idées révolutionnaires et/ou audacieuses.
Cependant, Apple vient de recevoir un nouveau brevet, et si jamais la firme de Cupertino veut faire quelque chose avec ce dernier, elle pourrait une nouvelle fois avoir l’effet escompté sur ses potentiels consommateurs, notamment lors des conférences de presse dont elle a le secret.
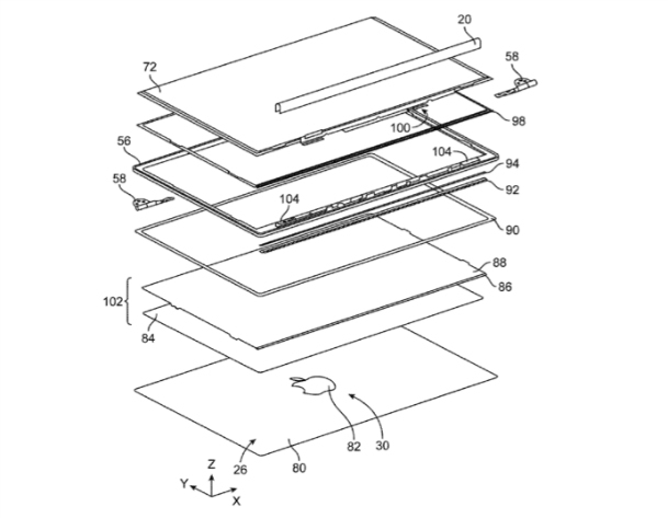
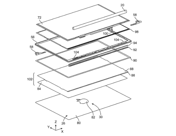
En effet, comme le rapporte AppleInsider, la firme de Cupertino vient d’obtenir un nouveau brevet qui contient des dessins pour un MacBook disposant d’un écran “double-face”, et des capacités de charge solaires. Alors que le premier écran est plutôt classique, le second écran serait situé sur le dessus de sa coque arrière, tandis que les cellules photovoltaïques intégrées sur la face arrière permettraient au MacBook de se recharger chaque fois que les cellules ont pris contact avec la lumière – un verre opaque soit transparent permettrait de laisser passer la lumière pour alimenter l’appareil.
De plus, il est mentionné qu’une couche capacitive offrant des fonctionnalités tactiles pourrait être de la partie, comme par exemple le fait de pouvoir augmenter le volume ou baisser très facilement la luminosité de l’écran.
Enfin, la célèbre pomme croquée serait bien évidemment présente, mais dans une autre conception puisqu’elle serait apposée grâce à de l’encre.



Il est intéressant de noter que la notion d’un ordinateur portable à double écran n’est pas vraiment nouvelle. Toutefois, si Apple arrive avec un MacBook offrant un double écran ainsi qu’un chargement solaire, cela permettrait au moins d’aborder la question de l’autonomie de la batterie, même si cela ne résoudrait pas entièrement la problématique.
Gardez à l’esprit que les entreprises déposent souvent des demandes de brevets, ces trucs peuvent ne jamais finir par arriver, alors ne sautez pas de joie pour disposer d’un nouveau MacBook radicalement différent, avec deux écrans et une recharge solaire cette année.
Seriez-vous intéressé par un tel produit ?



