fermer
Microsoft

Microsoft brevette une béquille de Surface avec des panneaux solaires

Tastatur Cover mit Solarpanelen
Microsoft brevette une béquille de Surface avec des panneaux solaires

La gamme de périphériques Surface a souvent été le fer de lance de la poussée d’innovation de Microsoft dans le secteur du matériel. Et à en juger par un brevet découvert récemment, le géant du logiciel n’a aucune intention de changer cette direction à long terme.

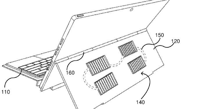
Comme le souligne WindowsUnited, le brevet, qui décrit une « mobile device cover with integrated solar panel », se résume essentiellement à une extension qui pourrait essentiellement augmenter l’autonomie d’un périphérique Surface : les panneaux solaires. Microsoft explique dans la documentation que les panneaux solaires pourraient être placés sur la béquille intégrée, en utilisant techniquement un espace qui est autrement gaspillé.

L’entreprise fournit la description suivante dans la documentation sur le brevet : « Une béquille pour un appareil mobile comprend des panneaux solaires et un clavier intégré. Les panneaux solaires sont positionnés sur un support de la  béquille et un angle associé aux panneaux solaires peut être modifié de manière à maximiser l’entrée d’une source de lumière. La béquille peut être utilisée pour alimenter un appareil mobile en énergie et un clavier pendant l’utilisation. Dans certaines applications, la béquille peut être utilisée à l’intérieur pour que les panneaux solaires puissent recevoir le flux généré par toute source de lumière artificielle afin de charger directement l’appareil mobile ou de charger une batterie placée sur la béquille ».

Autrement dit, ce qui est remarquable à ce sujet, c’est que l’arrière d’une béquille comporte quatre panneaux solaires, qui peuvent être utilisés pour charger l’appareil à partir d’une source de lumière. Et, il semble que les panneaux solaires peuvent fonctionner avec des lumières artificielles (tant qu’ils sont placés près des panneaux). Ainsi, vous pouvez les utiliser à l’intérieur ou par temps nuageux.

À première vue, cela pourrait fonctionner, bien qu’à une inspection rapide, l’entreprise a deux choses à régler. Tout d’abord, c’est le coût réel d’un panneau solaire. Les modèles Surface de Microsoft sont déjà assez chers, donc l’ajout d’un panneau solaire augmenterait encore plus le prix, poussant l’appareil à un point où les clients pourraient ne plus trouver que c’est un investissement viable.

fwmwD8hqtYJu jCWVoLedNS9zbQYaNCg

Avantages et inconvénients

Et deuxièmement, c’est la source de lumière dont ces panneaux ont besoin pour être efficaces. Utilisée à l’intérieur, une Surface équipée de panneaux solaires n’apporterait que peu ou pas davantage à l’autonomie, de sorte que les scénarios où une telle caractéristique serait utile pourraient éventuellement s’avérer très limités.

Bien sûr, étant donné que c’est encore un brevet, il est inutile de croire que Microsoft veut le produire en masse pour l’instant, même si je ne serais pas nécessairement surpris si une telle idée arrive à la gamme Surface d’une manière ou d’une autre. Est-ce que Microsoft planifie des changements révolutionnaires pour la Surface Pro 8, avec un nouveau Type Cover qui pourrait venir avec un panneau solaire intégré.

Tags : MicrosoftSurfaceSurface Pro 8
Yohann Poiron

The author Yohann Poiron

J’ai fondé le BlogNT en 2010. Autodidacte en matière de développement de sites en PHP, j’ai toujours poussé ma curiosité sur les sujets et les actualités du Web. Je suis actuellement engagé en tant qu’architecte interopérabilité.