La question de savoir si nous avons atteint un plateau dans l’évolution des smartphones devient de plus en plus pertinente, la plupart des flagships s’améliorant progressivement à chaque nouvelle génération. Oui, nous voyons constamment des aspects clés comme les caméras et les puces s’améliorer, mais où pouvons-nous espérer une véritable percée dans l’évolution de nos gadgets préférés ?
La durabilité de nos smartphones est un domaine qui mérite d’être exploré, et Apple semble le penser aussi. Actuellement, des rumeurs affirment que le futur iPhone 15 Ultra (un nouveau modèle qui devrait devenir l’option la plus haut de gamme de la société cette année) sera doté d’un châssis en titane plus léger et plus solide que celui en acier inoxydable auquel nous sommes habitués sur les iPhone Pro.
Toutefois, dans un avenir plus lointain, Apple semble chercher un moyen de rendre le verre de l’avant et de l’arrière de l’iPhone — qui sont les parties qui se cassent le plus souvent — plus résistant et plus durable. C’est du moins ce que laisse entendre l’un des derniers brevets accordés au géant de la technologie, comme le rapporte CreativeBloq.
Le brevet décrit un nouveau type de boîtier qui serait beaucoup plus résistant à l’abrasion, ce qui signifie moins de rayures. Malheureusement, il n’est pas fait mention de la capacité de ce nouveau matériau à protéger votre téléphone contre les fissures dues aux chutes. Il est donc difficile d’affirmer qu’il s’agit là d’une avancée qui rendra les étuis de téléphone obsolètes.

Néanmoins, ce qui est impressionnant à propos du matériau décrit dans ce brevet, c’est qu’il continue à avoir des propriétés électromagnétiques favorables tout en améliorant la résistance aux rayures.
Comme Apple l’indique dans le brevet, les boîtiers en métal sont solides et peuvent résister aux rayures, mais ils peuvent également interférer avec les signaux radioélectriques entrants ou émanant de l’appareil. Le plastique ne conviendrait pas non plus, même s’il est assez solide et transparent aux signaux radio. Mais le plastique peut être facilement rayé et bosselé. Le boîtier en céramique permettrait également aux signaux radio d’entrer et de sortir de l’appareil et serait résistant aux rayures. Mais la céramique pourrait aussi être fragile. Le brevet mentionne l’utilisation de ces trois matériaux combinés pour créer des boîtiers en plastique incorporant du métal, de la céramique, du verre et d’autres matériaux.
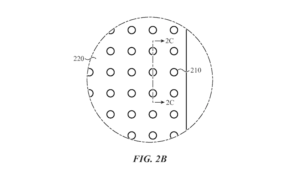
Ces matériaux seraient incorporés au plastique afin d’obtenir un équilibre de propriétés telles que la solidité, la robustesse, la résistance aux éclats, la transparence radio et la résistance aux rayures ou à l’abrasion. Les matériaux résistants à l’abrasion pourraient prendre différentes formes et tailles. Ils peuvent être sphériques, avoir la forme d’une perle ou comporter des structures d’interconnexion permettant aux matériaux résistants à l’abrasion de se connecter les uns aux autres. En jouant sur la densité de surface des matériaux résistants à l’abrasion, Apple pourrait être en mesure de modifier certaines des qualités structurelles des matériaux, telles que la rigidité, la dureté et la flexibilité.
Qu’un brevet
Avec la rumeur d’un changement de matériaux pour l’iPhone 15 Ultra et ce brevet décrivant un verre plus résistant aux rayures, il est clair qu’Apple envisage la durabilité comme le prochain élément qui aiderait à commercialiser ses smartphones haut de gamme. Toutefois, il s’agit d’un brevet, qui reste souvent un concept qui ne se concrétise pas, alors gardez vos attentes réalistes.
Cependant, des smartphones plus résistants qui ne se cassent pas aussi facilement semblent être l’un des points les plus logiques sur lesquels les fabricants devraient se concentrer, et toute nouvelle concernant la possibilité de telles améliorations est donc excitante à entendre.



