Le récent brevet d’Apple, partagé par Apple Insider, suggère que l’échange de bracelets sur l’Apple Watch pourrait offrir bien plus qu’un simple effet de mode. Le brevet laisse entrevoir la possibilité de configurations dynamiques et de réglages personnalisés, Apple explorant différentes approches de l’attachement et du détachement des bracelets.
Le brevet s’intitule « Identification de bracelets pour appareils électroniques wearables » et met en lumière la vision de l’entreprise quant aux futures fonctionnalités de l’Apple Watch. Il introduit le concept de bracelets que l’Apple Watch identifie pour déclencher des fonctions et des réglages spécifiques.
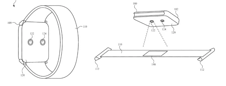
Les implications de cette innovation sont remarquables et intrigantes. L’Apple Watch sera capable de discerner le type, la couleur, le modèle, la taille et d’autres caractéristiques distinctes du bracelet, ce qui lui permettra de sélectionner et d’exécuter les actions correspondantes. Qu’il s’agisse de lancer des applications, d’ajuster les réglages ou de personnaliser les notifications, l’Apple Watch s’adaptera aux caractéristiques spécifiques du bracelet.

En changeant simplement de bracelet, l’Apple Watch pourra lancer un large éventail de fonctions, telles que le lancement d’applications, l’ouverture de sites Web, le réglage d’alertes et bien plus encore. Cette réponse dynamique améliorera la convivialité et le confort d’utilisation de l’appareil, en l’adaptant aux besoins de l’utilisateur.
Le brevet décrit plusieurs méthodes permettant à l’Apple Watch de reconnaître les bracelets. Il s’agit notamment d’utiliser des QR codes, des motifs réfléchissants sur les bracelets ou même d’analyser des longueurs d’onde lumineuses spécifiques émises vers la montre. Imaginez que vous mettiez un bracelet de sport pour aller à la salle et que votre montre s’ouvre et démarre votre application d’entraînement préférée.
Pour le futur modèle ?
Le brevet d’Apple décrit également des situations dans lesquelles l’Apple Watch suit et enregistre les informations relatives à l’utilisation du bracelet. Ces données peuvent inclure des dates, des heures, des durées, des activités et même certains facteurs environnementaux. L’intégration de ces informations aux données sanitaires et environnementales signifie que l’Apple Watch pourrait fournir aux utilisateurs des informations et des recommandations personnalisées, ce qui rendrait l’expérience de l’utilisateur encore plus agréable.
Bien que le concept de changement de bracelet et de configurations personnalisées pour la future Apple Watch soit fascinant, nous ne savons toujours pas quand ou même si cette fonctionnalité sera disponible. Toutefois, il est possible que nous en apprenions davantage à ce sujet en septembre, lorsque le prochain modèle d’Apple Watch sera probablement dévoilé.



