Tout a commencé avec le souhait de Microsoft de se lancer dans le secteur du matériel et le défi consistait à proposer quelque chose d’unique. C’est de là qu’est née la gamme Surface Pro. À partir de là, Microsoft a lancé la tendance des appareils 2-en-1 avec sa gamme Surface Pro. Même Apple, qui se moquait initialement de Surface comme la créature de Frankenstein, propose désormais un appareil 2-en-1 avec l’iPad Pro.
L’une des principales caractéristiques de la Surface Pro de Microsoft est la béquille intégrée, qui permet de passer du mode tablette au mode ordinateur portable en un processus extrêmement transparent. Et, il s’avère qu’en dépit de la conception actuelle fonctionnant parfaitement, Microsoft souhaite simplifier l’ensemble du mécanisme, mais aussi le rendre plus facile à utiliser, même si une force moindre est appliquée.
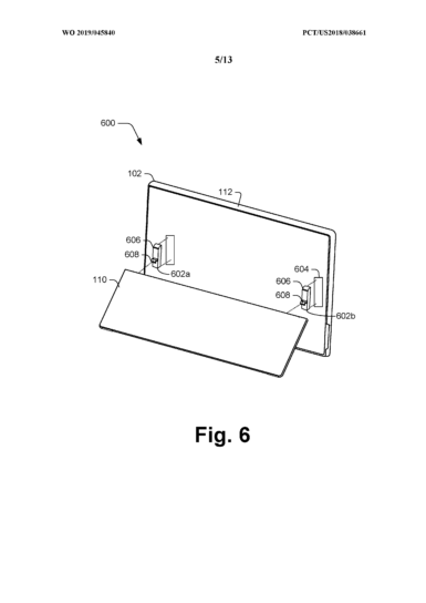
Un brevet récemment découvert décrit une béquille améliorée qui s’appuie sur de nouvelles pièces pour améliorer le processus d’ouverture et de fermeture de la béquille. « Une charnière comprend un arbre, une lame de charnière engageant l’arbre, une courroie serrée autour de l’arbre pour tourner autour de celui-ci, et un mouvement pivotant par rapport à la lame de charnière et un accouplement disposé entre la courroie et l’arbre », indique le brevet.
En d’autres termes, la nouvelle conception de la béquille pour la Surface Pro donnerait à Microsoft davantage de contrôle sur la résistance à l’ouverture et à la fermeture, et le géant du logiciel pourrait lui-même opter pour une configuration différente. Dans le même temps, le brevet indique que la résistance peut être ajustée à un niveau souhaité, ce qui permet techniquement aux utilisateurs de contrôler eux-mêmes ce paramètre si le réglage fait par Microsoft n’est pas satisfaisant.
Un brevet bientôt réel ?
La version actuelle de la Surface Pro, la Surface Pro 6, n’offre que peu d’innovations par rapport aux prédécesseurs de la gamme. Depuis la Surface Pro 3, peu de choses ont été faites en matière de design. D’une part, le facteur de forme et la convivialité de la Surface Pro sont plutôt bons, même des années après sa conception. Mais à mesure que la technologie progresse, elle ouvre de nouvelles possibilités d’amélioration. Microsoft sécurise donc une nouvelle technologie de charnière pour la béquille, qui pourrait déjà trouver une application dans la Surface Pro 7.
Pendant ce temps, Microsoft travaille toujours sur la nouvelle génération de la Surface Pro, éventuellement appelée Surface Pro 7. Et si l’on en croit les rumeurs, ce modèle est attendu pour la fin de l’année 2019. Outre le matériel plus récent (processeur, GPU, RAM), Microsoft pourrait réduire les bords d’écran afin de proposer un plus grand écran tout en amincissant la Surface.






