fermer
Apple

Apple a établi un brevet pour un nouveau type de tensiomètre

apple etabli brevet pour nouveau tensiometre
Apple a établi un brevet pour un nouveau type de tensiomètre

Il y a deux ans, une poignée d’employés d’Apple ont imaginé un appareil qui permettrait à l’entreprise d’aller au-delà du monde des applications médicales et des produits de santé. Cet appareil n’est pas la Apple Watch, du moins pas encore. Au lieu de cela, il semble être un appareil dont la fonction pourrait très bien être déployée dans les futures Apple Watch. Apple a obtenu un brevet pour cet appareil, et il semble décevant.

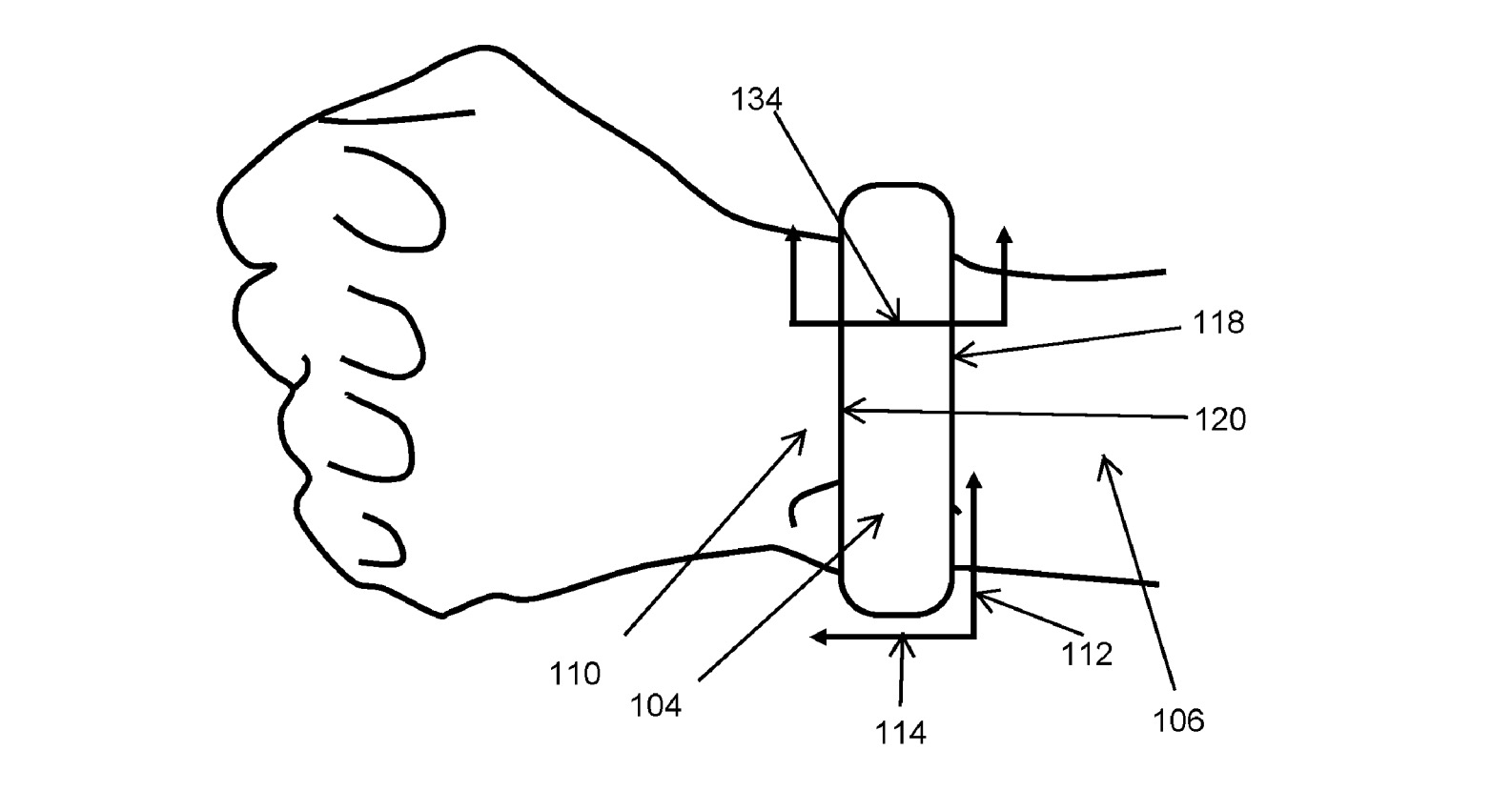
Le modèle qu’ils ont breveté est pour un tensiomètre mobile. Il s’agit d’un brassard équipé d’un capteur (ou plusieurs) qui permet de suivre lorsque la pression artérielle de l’utilisateur peut être trop forte ou chute trop vite. Pour la partie technologique, cet appareil pourrait arborer un écran tactile, et pourrait être compatible avec la connectivité Bluetooth.

La raison de ces qualificatifs est que le brevet actuel est extrêmement large — comme d’habitude. Le brevet le mentionne comme un « système de mesure de la pression sanguine », qui ressemble à beaucoup de périphériques analogues d’ores et déjà sur le marché. Ces dispositifs fonctionnent à travers une collection de petits coussins gonflables, ou « cellules » dans le brevet, qui sont là pour exercer une pression sur le bras du porteur et couper le flux sanguin. De là, l’appareil obtient une mesure du débit maximal du cœur, ou de sa pression systolique, avant de le relâcher pour obtenir une mesure du débit de repos du cœur, ou de la pression diastolique.

Faire face à la certification

Selon le brevet d’Apple, leur dispositif est prévu pour avoir un ou plusieurs capteurs pour mesurer la pression du sang lorsqu’il traverse le bras ou la jambe de l’utilisateur. Il y a aussi un « actionneur » pour mesurer la pression nécessaire pour obtenir une bonne lecture sans écraser complètement le bras de l’utilisateur.

Dans un monde où la pression artérielle est de plus surveillée, le choix pour Apple d’aller dans ce secteur aurait du sens. Mais, nous ne savons pas encore comment le géant basé à Cupertino envisage d’offrir quelque chose de nouveau ou comme il pourrait l’intégrer dans son Apple Watch.

Ainsi, le produit proposé par Apple éliminerait le besoin pour les consommateurs préoccupés par leur cœur de passer par un produit tiers. Néanmoins, il faudra que le produit passe dans les mains des experts de la certification afin que celui-ci soit réellement considéré comme un produit médical.

Tags : Applebrevetsanté
Yohann Poiron

The author Yohann Poiron

J’ai fondé le BlogNT en 2010. Autodidacte en matière de développement de sites en PHP, j’ai toujours poussé ma curiosité sur les sujets et les actualités du Web. Je suis actuellement engagé en tant qu’architecte interopérabilité.