Nike a peut-être abandonné le secteur des équipements de golf, mais cela ne signifie pas que l’entreprise ne cherche toujours pas à savoir comment la technologie peut améliorer notre swing. Un récent dépôt de brevet de Nike a révélé un potentiel nouveau produit, qui pourrait permettre aux joueurs de suivre l’emplacement de leur balle et voir plus précisément la distance les séparant du green, grâce aux données qui sont projetées sur des lunettes.
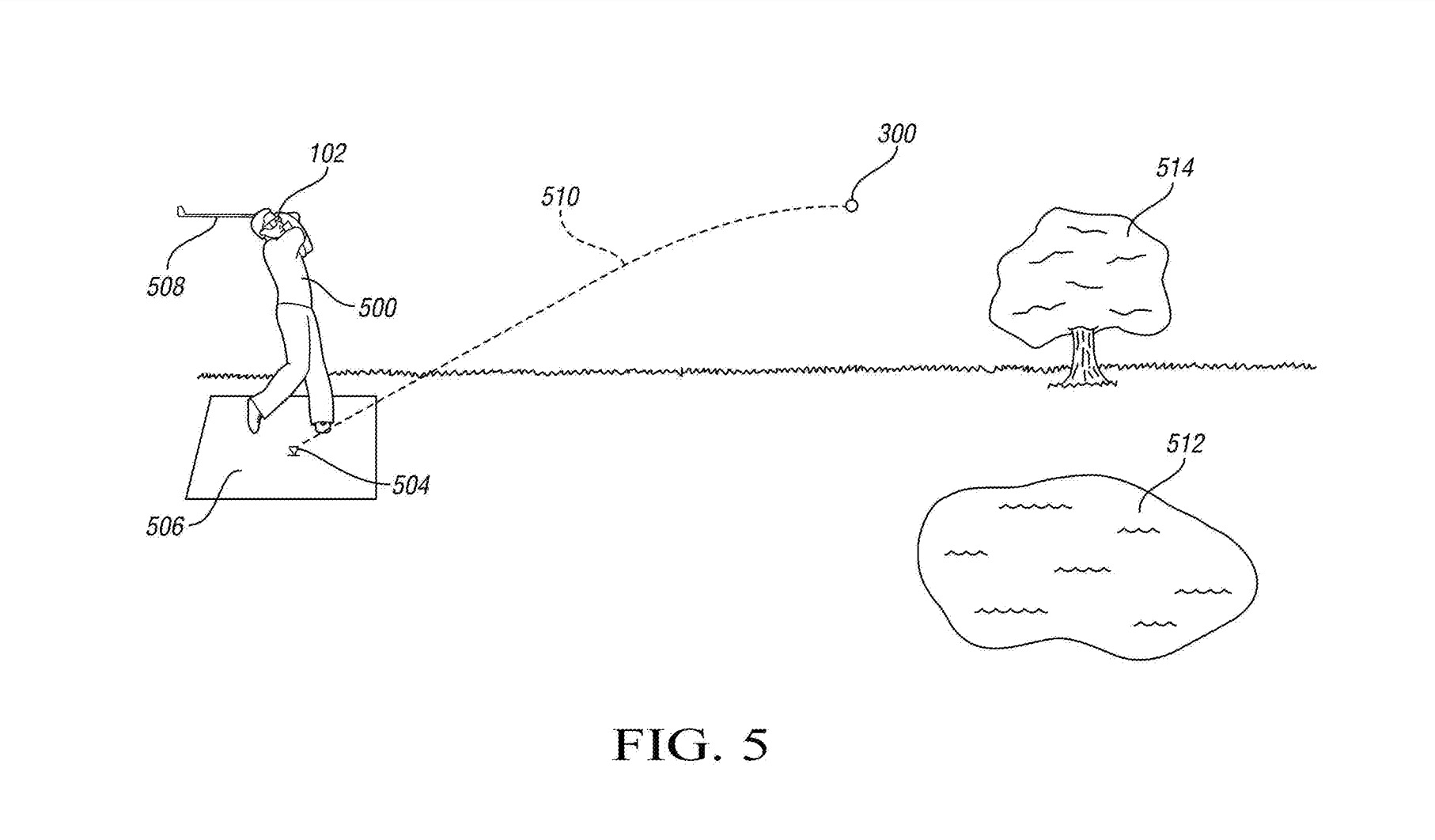
Les diagrammes qui accompagnent le brevet montrent un ensemble de lunettes et une balle de golf connectée qui est équipée de « composants de communication ». On peut supposer que la balle de golf est jumelée avec les lunettes pour aider à transmettre l’information au golfeur, dont le dernier coup, l’emplacement actuel de la balle, et la distance au trou. Le système peut également suivre le score actuel du golfeur, du nombre de coups du parcours, et le nombre moyen de putts. Toutes ces données sont affichées sur un petit écran qui est incorporé dans les lunettes.
Le brevet indique que les lunettes incluraient une caméra embarquée pour capturer des photos ou des vidéos du point de vue du golfeur pour tracer la trajectoire de la balle.
Un système intégré de suivi fait également partie du système, indiquant avec précision où se trouve le golfeur sur le parcours à un moment donné. Cela aidera ensuite ce dernier à trouver sa balle tout en l’alertant des potentiels dangers tels que le sable et l’eau.

Une véritable aide aux golfeurs
À l’approche du green, le système est conçu pour lire la topographie du terrain à partir de l’emplacement du golfeur et de la balle. Cette information serait alors affichée en utilisant la technologie de réalité augmentée, superposant les ondulations du terrain en temps réel et la vue de l’environnement réel du golfeur. En théorie, cela devrait aider les athlètes à repérer les variations de terrain, afin de choisir plus précisément le putt.

Comme c’est souvent le cas avec un brevet de ce type, il y a beaucoup de détails sur ce que cet écran à réalité augmentée pourrait faire, s’il devenait une réalité. Le brevet lui-même a été déposé le jeudi 8 mars, mais rien ne garantit qu’il deviendra un véritable produit pour le grand public. Cela dit, il y a probablement beaucoup de golfeurs qui aimeraient avoir cette technologie à leur disposition.



