fermer
Apple

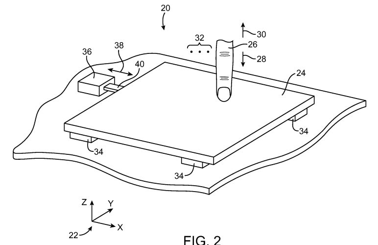
Les futurs MacBook pourraient embarquer un trackpad sans bouton

les futurs macbook pourraient embarquer un trackpad sans bouton 1

Aimez-vous le touchpad de votre MacBook ? Êtes-vous à l’aise et même dans l’incapacité de vous passer d’un pavé tactile ? Et bien, sachez que dans un futur proche vous pourriez apprendre à vivre sans eux, si l’on en croit le nouveau brevet déposé par Apple, comme le rapporte macrumors.

En effet, selon un nouveau brevet d’Apple qui a été répertorié sur l’U.S. Patent Office, Apple aurait des idées de conception afin de rendre un touchpad dont les boutons vont être complètement retirés. Au lieu de cela, ils seraient remplacés par des capteurs de force et les informations seraient fournies par un actionneur. Les capteurs et l’actionneur seront combinés afin de reproduire le comportement d’un touchpad avec des boutons physiques intégrés, comme ce que vous trouverez sur les MacBooks actuels.

Dans la conception du touchpad mise en avant dans le brevet qui a été déposé à la fin de l’année 2009, des capteurs intégrés dans le touchpad liraient les mouvements des doigts, tandis que l’actionneur serait capable de reproduire la rétroaction tactile fournie par les boutons physiques dans les pavés tactiles actuels.

Les futurs MacBook pourraient embarquer un trackpad sans bouton

Même s’il ne s’agit-là que d’un brevet, on peut espérer que ce touchpad disposera de paramètres qui permettront à l’utilisateur de bricoler et de personnaliser sur la sensibilité, mais il est difficile de savoir si un tel pavé tactile va réellement plaire aux consommateurs.

Cependant, ne soyez pas trop excité ou inquiet. Les demandes de brevet sont très fréquentes, et ces derniers s’entassent souvent dans une pile de cartons, attrapent la poussière et ne sont jamais utilisés.

Que pensez-vous de cette conception proposée pour le prochain MacBook ?

Tags : brevetMacBook
Yohann Poiron

The author Yohann Poiron

J’ai fondé le BlogNT en 2010. Autodidacte en matière de développement de sites en PHP, j’ai toujours poussé ma curiosité sur les sujets et les actualités du Web. Je suis actuellement engagé en tant qu’architecte interopérabilité.