La conception de la Apple Watch est restée à peu près la même tout au long de toutes ces années. Mais, il se pourrait qu’Apple pense à un tout nouveau look pour un modèle de génération future. Alors qu’à ce jour l’idée est loin d’atteindre la production de masse, un brevet nous donne un aperçu plus précis de ce qui pourrait être une Apple Watch ronde.
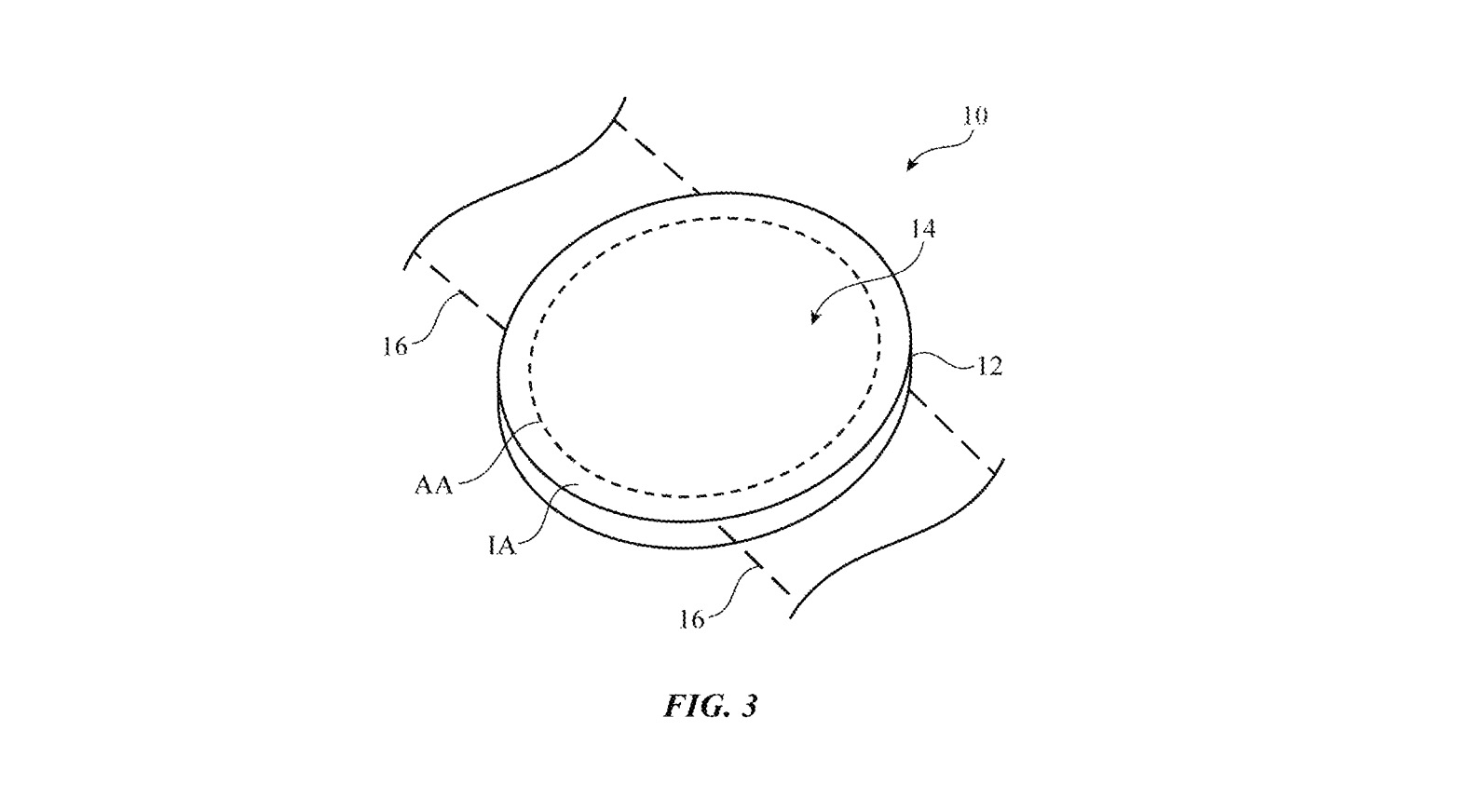
Le brevet US 9965995, qui a été accordé plus tôt dans la semaine, décrit un « dispositif électronique ayant un écran à bord incurvé », qui, après une lecture plus poussée, semble indiquer de quelle manière Apple envisage de construire une montre connectée ronde. Apple explique dans le brevet qu’il existe des défis techniques pour faire une montre avec un cadran arrondi, et que les bords incurvés pourraient aider à atténuer le problème.
« Les tableaux de pixels ont souvent de formes rectangulaires. Cependant, ces derniers ne s’intègrent pas efficacement dans un dispositif ayant une forme circulaire. Les écrans circulaires peuvent avoir des zones de goulot d’étranglement dans lesquelles les lignes de signaux deviennent encombrées, ce qui conduit à une utilisation inefficace de la zone d’affichage. Il serait donc souhaitable de pouvoir fournir des écrans améliorés tels que des écrans circulaires ou d’autres écrans avec des bords courbés“, lit-on dans le brevet.
Un lancement l’année prochaine ?
Apple a déposé le brevet en janvier 2016, de sorte qu’elle a commencé à explorer un moyen de faire une Apple Watch ronde après les débuts du modèle rectangulaire de première génération. Bien sûr, il n’y a aucune garantie que l’entreprise pourrait aller plus loin avec cette conception, mais il ne fait aucun doute que cela rendrait l’appareil plus naturel au poignet.
D’autres sociétés, comme Samsung, ont déjà lancé des smartwatches rondes, et Apple semble maintenant être de plus en plus intéressé par l’annonce d’une Apple Watch de nouvelle génération qui adopte également le même design.
Une nouvelle Apple Watch est attendue l’année prochaine, mais pour le moment il est encore trop tôt pour prédire si l’appareil conservera la même forme ou adoptera la technologie décrite dans ce brevet.



