Bien que beaucoup de gens pensent que Microsoft a déjà abandonné les Windows Phone, la dernière spéculation à cet égard indique que la société travaille réellement sur quelque chose de complètement innovant pour la plateforme, à la fois sur le plan logiciel et matériel. Plus récemment, de précieuses fuites ont mis en évidence un appareil nommé « Surface Mobile », sur lequel Microsoft pourrait travailler dans le cadre de sa transformation matérielle. Mais hormis cette information, rien de plus n’a filtré sur les caractéristiques du périphérique.
Et pourtant, il semble que le géant basé à Redmond examine déjà plusieurs pistes pour son prochain dispositif mobile, y compris celui qui pourrait le mettre en phare avec les autres modèles Surface actuellement sur le marché.
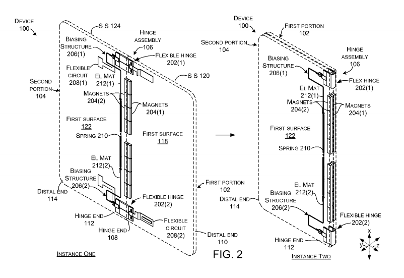
Les brevets montrent que Microsoft développe une charnière spéciale qui pourrait être utilisée sur un périphérique pliable de la taille d’un smartphone, dans le but d’obtenir un nouveau facteur de forme qui serait basé sur 3 configurations toutes différentes : 0 degré pour fermer, 180 degrés à plat et 360 degrés pleinement ouvert.
Un focus sur les charnières

Comme le note MSPowerUser, les brevets montrent que Microsoft veut que l’écran pliable soit divisé en deux parties, et pour afficher deux interfaces utilisateur lorsqu’il n’est pas en mode à 180 degrés. D’autre part, une interface spécifique sera affichée en mode à 180 degrés, analogue à une tablette.
Microsoft a investi dans le développement de charnières dès le début, notamment avec une gamme Surface très populaire qui a introduit une nouvelle technologie de ce genre avec presque toutes les nouvelles générations de Surface. La charnière la plus récente est celle incluse avec le Surface Studio, qui permet au PC tout-en-un de se convertir en une table dessin sans des accessoires externes.

Bien sûr, les brevets ne sont pas une confirmation d’un nouveau produit, mais au moins ils montrent que Microsoft cherche des moyens pour dynamiser sa plateforme mobile. Il reste à voir si ce concept permettra de faire avancer la firme dans un secteur où elle n’a pas encore réussi à percer.



