fermer
Apple

Apple intéressé à produire iPhones qui se courbent facilement

apple interesse a produire iphones qui se courbent facilement 1

On pourrait penser qu’après la controverse du “#Bendgate” dont Apple a été victime l’année dernière, que la firme aurait la bonne idée de détourner le fait que les iPhones seraient pliables. Quoi qu’il en soit, de nouveaux brevets montrent que la firme de Cupertino envisage des dispositifs électroniques flexibles.

En effet, étant donné la controverse du bendgate de l’année dernière, où l’on a vu les nouveaux modèles iPhone 6 d’Apple être dans certains cas légèrement pliés (comme sur la photo ci-dessous), il semble que Apple a pris le problème à bras le corps. Quoi qu’il en soit, cette idée n’est pas vraiment nouvelle, et la plupart des entreprises se tournent vers des dispositifs flexibles pour l’avenir.

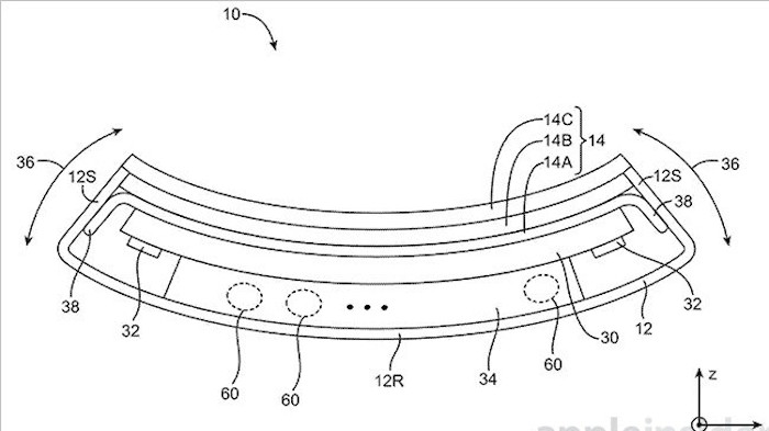
Le brevet, qui a été décerné le 6 janvier 2015 et déposé en septembre 2011, montre que Apple a exploré des façons de créer un dispositif électronique qui dispose d’un écran flexible qui peut être plié pour faire un smartphone capable d’être tordu sans que l’écran ou les composants soient endommagés.

Alors que le LG G Flex 2 a impressionné la presse au Consumer Electronics Show de 2015, il y a clairement un intérêt dans les smartphones avec des écrans et des composants courbés ou pliables, il est donc logique que Apple se penche également sur ​​la technologie.

iPhone 6 #Bengate

Courbé dans la forme

Selon le brevet d’Apple, les avantages de l’électronique flexible permettent aux smartphones d’être plus résistant aux dommages causés lors de divers impacts, puisque le dispositif flexible peut plier ou déformer tout en absorbant l’impact. L’idée est d’utiliser un écran flexible, et un châssis souple qui sera moulé grâce à du plastique, un mince verre, et des composites en fibres qui pourraient permettre d’avoir un smartphone qui est déformable sans qu’aucun dommage soit visible.

Apple a déposé un brevet pour produire un iPhone flexible

Un iPhone avec une version souple pourrait également arriver avec une nouvelle interface utilisateur qui profiterait de la flexibilité. Comme le note Apple Insider, cela pourrait inclure la possibilité de presser physiquement le smartphone pour l’activer ou le désactiver.

Même si Apple a récemment reçu le brevet, il est peu probable de voir un iPhone qui est censé se plier dans un proche avenir, mais le fait que Apple s’intéresse à cette innovation est excitant.

Tags : brevetécran flexible
Yohann Poiron

The author Yohann Poiron

J’ai fondé le BlogNT en 2010. Autodidacte en matière de développement de sites en PHP, j’ai toujours poussé ma curiosité sur les sujets et les actualités du Web. Je suis actuellement engagé en tant qu’architecte interopérabilité.