Chaque année, les robots aspirateurs s’améliorent, qu’il s’agisse d’éviter les meubles ou de nettoyer autour des chaussures et des cordons, mais un obstacle commun reste le plus gros problème : les escaliers. C’est pourquoi la société d’aspirateurs haut de gamme Dyson veut construire un robot aspirateur capable de monter une volée d’escaliers et de les nettoyer simultanément.
Dyson est connue pour être une entreprise plutôt innovante. Elle fabrique tout, des aspirateurs haut de gamme aux climatiseurs fantaisie, en passant par les sèche-cheveux et les ventilateurs, et a même essayé de construire un véhicule électrique. Et maintenant, il semble que Dyson veut que son aspirateur fasse ce que votre Roomba ne peut pas faire.
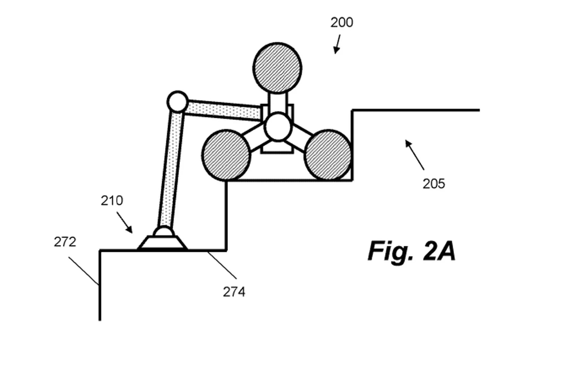
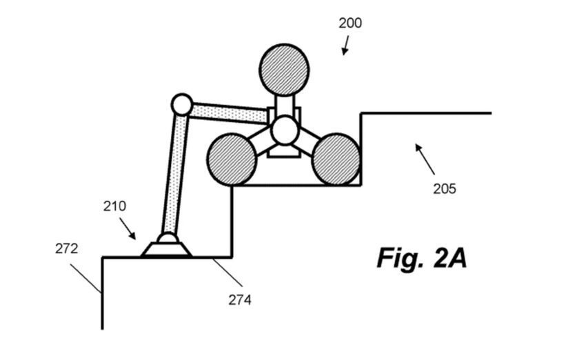
Bloomberg a récemment découvert une série de brevets suggérant que le fabricant d’aspirateurs a passé les 16 dernières années à développer un robot aspirateur capable de nettoyer vos escaliers, de se rendre au deuxième étage d’une maison, et peut-être même de ramasser et de tenir des objets comme des tasses ou des vêtements en chemin. Je ne sais pas ce qu’il en est pour vous, mais moi, ça me paraît assez incroyable.
Évidemment, un robot capable de monter un escalier n’est pas une mince affaire, mais l’entreprise ne s’arrête pas là. Les brevets suggèrent également que Dyson souhaite créer un robot aspirateur capable d’ouvrir les tiroirs, offrant ainsi aux acheteurs leur propre femme de ménage.
La main robotique présentée dans les brevets de Dyson est certainement intéressante et constituerait un changement radical par rapport aux aspirateurs que nous connaissons et utilisons aujourd’hui. Peut-il ranger mon linge ? Ou, tant que nous y sommes, m’apporter une tasse de café à l’étage chaque matin.
Un simple brevet aujourd’hui
De manière plus réaliste, si Dyson parvient à créer un robot aspirateur capable de monter les escaliers, on peut espérer qu’il pourra se déplacer sur une chaise ou redresser un tapis pendant qu’il passe l’aspirateur, ce qui est plus logique que de transporter une tasse.
Cela dit, il n’est pas clair si ce projet est réellement en passe d’être réalisé, s’il est à des années-lumière d’être fabriqué ou s’il s’agit simplement d’une idée géniale qui a été mise en veilleuse et qui ne se réalisera jamais. Il est important de se rappeler que Dyson dépose toutes sortes de brevets farfelus, donc nous devrons attendre et voir si cela se concrétise un jour.




