Dans le domaine des wearables, Apple explore des avenues innovantes pour améliorer le suivi de la santé et de la forme physique. La société a déposé une demande de brevet intitulée « Dispositifs portables avec capacités de mesure de la transpiration ».
Cette initiative met en lumière une potentielle nouvelle fonctionnalité pour l’Apple Watch, visant à recueillir et analyser la transpiration de l’utilisateur pour fournir des données précieuses sur sa santé.
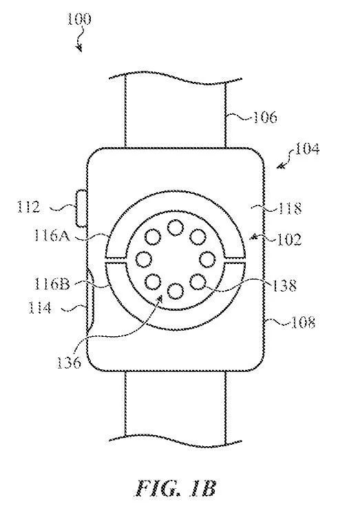
Selon la demande déposée auprès de l’Office américain des brevets et des marques relayée par PatentlyApple, le dispositif envisagé inclurait un capteur de transpiration composé de deux électrodes, intégré à la surface de l’appareil en contact avec la peau. Ce capteur permettrait de calculer un « indice de transpiration » reflétant divers aspects de la santé et de la condition physique de l’utilisateur.
Apple envisage également l’ajout d’un second capteur de transpiration pour affiner les mesures et enrichir les données collectées.

Les capteurs de transpiration seraient situés à l’arrière de l’Apple Watch, permettant ainsi de mesurer efficacement le taux de transpiration de l’utilisateur pendant des activités physiques telles que la marche, la course ou le vélo. L’objectif serait de fournir à l’utilisateur des informations en temps réel sur son taux de transpiration instantané et total durant l’exercice, offrant ainsi une perspective précieuse sur la perte de fluides et aidant à optimiser l’hydratation et la performance.
Un simple brevet à ce jour
Il est important de noter que toutes les demandes de brevet déposées par Apple ne mènent pas nécessairement à l’obtention d’un brevet ni à l’implémentation d’une nouvelle fonctionnalité sur ses appareils.
Cependant, l’intégration de capacités de mesure de la transpiration à l’Apple Watch souligne l’engagement continu de l’entreprise à innover dans le suivi de la santé et du bien-être. Cette fonctionnalité, si elle est développée, pourrait nécessiter un nom évocateur qui transcende la simple notion de transpiration pour souligner son utilité dans le contexte de la santé et de la forme physique.



