Oubliez lentilles de contact intelligentes que Sony a planifiées, Google vient de déposer un brevet pour un dispositif intelligent, un autre wearable, qui va s’injecter directement dans le globe oculaire.
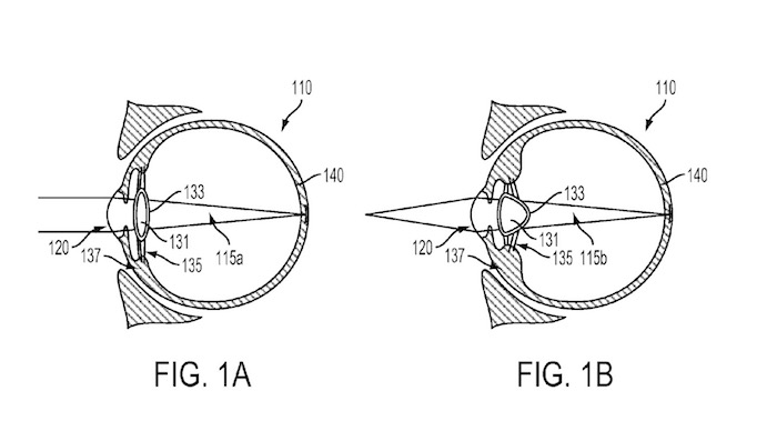
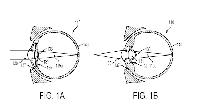
Selon le dépôt de brevet, le dispositif remplacerait une lentille traditionnelle dans l’œil, et va être injecté après une opération chirurgicale. L’idée est de retirer le cristallin, puis d’injecter un liquide dans la membrane entourant ce dernier afin de « coller » la lentille de Google fait d’un matériau polymère flexible. Et voilà, vous vous retrouvez avec une lentille électronique ! Bien sûr, le dispositif sera surtout utilisé comme un moyen de corriger la vision, mais il pourrait également être utilisé pour d’autres choses.
Le dispositif lui-même comprend une lentille, mais en plus de ça, il dispose d’un stockage interne, de divers capteurs, d’une batterie, et même de composants radio afin qu’il puisse communiquer avec d’autres dispositifs, comme un module externe qui offre toute la puissance de calcul.
« Une batterie ? », vous pouvez vous demander. « Cet appareil va réellement se charger ? ». Potentiellement. Mais, au lieu de brancher un câble micro USB dans votre globe oculaire, la batterie récupère de l’énergie grâce à une « antenne de récupération d’énergie ». On ne sait pas comment cela fonctionnerait, mais seulement qu’on ne va pas utiliser un câble micro-USB.

Une concurrence pour nos yeux !
Bien sûr, ce n’est pas la première fois que nous voyons Google se concentrer sur les yeux. En dehors des Google Glass, la société a déposé un brevet pour une lentille de contact intelligente en 2014. Cet objectif visait à suivre vos niveaux de glucose à travers vos larmes, ce qui serait particulièrement utile pour les personnes atteintes de diabète. En vérité, ces lentilles de contact tombent maintenant dans les mains dans la division Verily d’Alphabet, la société mère de Google, spécialisée dans la recherche sur les sciences de la vie. Il est fort probable que ce nouveau dispositif va également être pris en charge par cette même division, car il énumère Jason Conrad, à la tête de Verily, comme l’inventeur.
Ce type de technologie a évidemment une certaine concurrence. Comme mentionné précédemment, Sony a récemment déposé un brevet pour une lentille de contact intelligente qui vous permet de regarder des vidéos, des images et d’autres informations. Et, Samsung a récemment révélé un brevet pour une lentille de contact plus tôt dans l’année.
Allons-nous utiliser nos lentilles connectées plutôt que nos smartphones ou même nos smartwatches ? La réponse dans quelques années…



