Si vous avez déjà eu un câble Lightning dans votre voiture, vous savez déjà à quel point ils sont fragiles. Les câbles de charge d’Apple ne sont pas vraiment connus pour leur durabilité. Ils s’effilochent souvent au bout d’un an ou deux et peuvent même ne plus fonctionner au point de ne plus pouvoir recharger du tout votre appareil. Et, vous pourriez également remarquer qu’ils peuvent prendre une teinte jaune de plus en plus aigre.
Mais, la bonne nouvelle est qu’Apple travaille apparemment sur des idées pour rendre ses câbles plus durables, en déposant une demande de brevet pour un « câble à rigidité variable ».
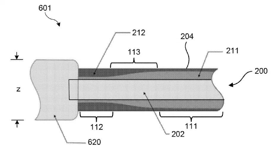
Le brevet décrit différentes idées pour un câble qui ne s’effilocherait pas aussi facilement. Les méthodes donneraient à différentes parties du câble des niveaux de rigidité variables, tout en maintenant le câble uniformément épais. Elles remplaceraient également ce qu’Apple appelle le « manchon anti-traction » — le capuchon rigide que l’on trouve aux extrémités de nombreux câbles.
Le manchon anti-traction permet d’éviter que le câble ne s’abîme en raison des courbures, ce qui peut être utile, car les câbles sont souvent fortement pliés près des extrémités pour les brancher. Le fait est que ces manchons n’empêchent pas les câbles de s’effilocher. Les idées d’Apple dans ce brevet font varier la flexibilité et la rigidité de tout un câble, ce qui en théorie protégerait mieux contre l’effilochage, quel que soit l’endroit où vous le pliez régulièrement, le tout sans en augmenter l’épaisseur.
Tout cela semble encore un peu vague, mais il est bon de voir Apple reconnaître que la durabilité de son câble est extrêmement faible et qu’il faut faire quelque chose (idéalement le plus tôt possible).
Un simple brevet pour le moment
En effet, il s’agit simplement d’une demande de brevet, et rien ne garantit qu’Apple utilisera cette conception dans ses futurs câbles. Mais le fait qu’Apple ait déposé cette demande est un bon signe qu’elle pense à la durabilité des câbles.
De plus, il convient de noter que le brevet ne désigne pas les câbles Lightning par leur nom, ce qui signifie que la demande pourrait être liée à une refonte complète des câbles d’iPhone, d’iPad et de Mac de la société. Cela signifie que nous pourrions voir une mise à niveau des câbles de charge Thunderbolt 3, USB-C et MagSafe dans un proche avenir.
Espérons que nous verrons quelques améliorations à l’avenir.




