Un nouveau brevet de Microsoft semble montrer que la société explore de plus près les moyens de faire en sorte qu’un ordinateur portable à double écran — comme son prétendu Surface Centaurus — ne présente aucune incohérence entre ses deux écrans séparés. La Surface pliable de Microsoft est un rêve qui ne s’est pas encore réalisé. Mais à en juger par tous les brevets récemment découverts, nous pourrions nous approcher du moment où la société pourrait dévoiler cet appareil.
Le brevet en question, récemment publié par USPTO, a été découvert récemment par le site allemand WindowsUnited et décrit comment la charnière de la Surface pliable pourrait être utilisée comme écran de notification.
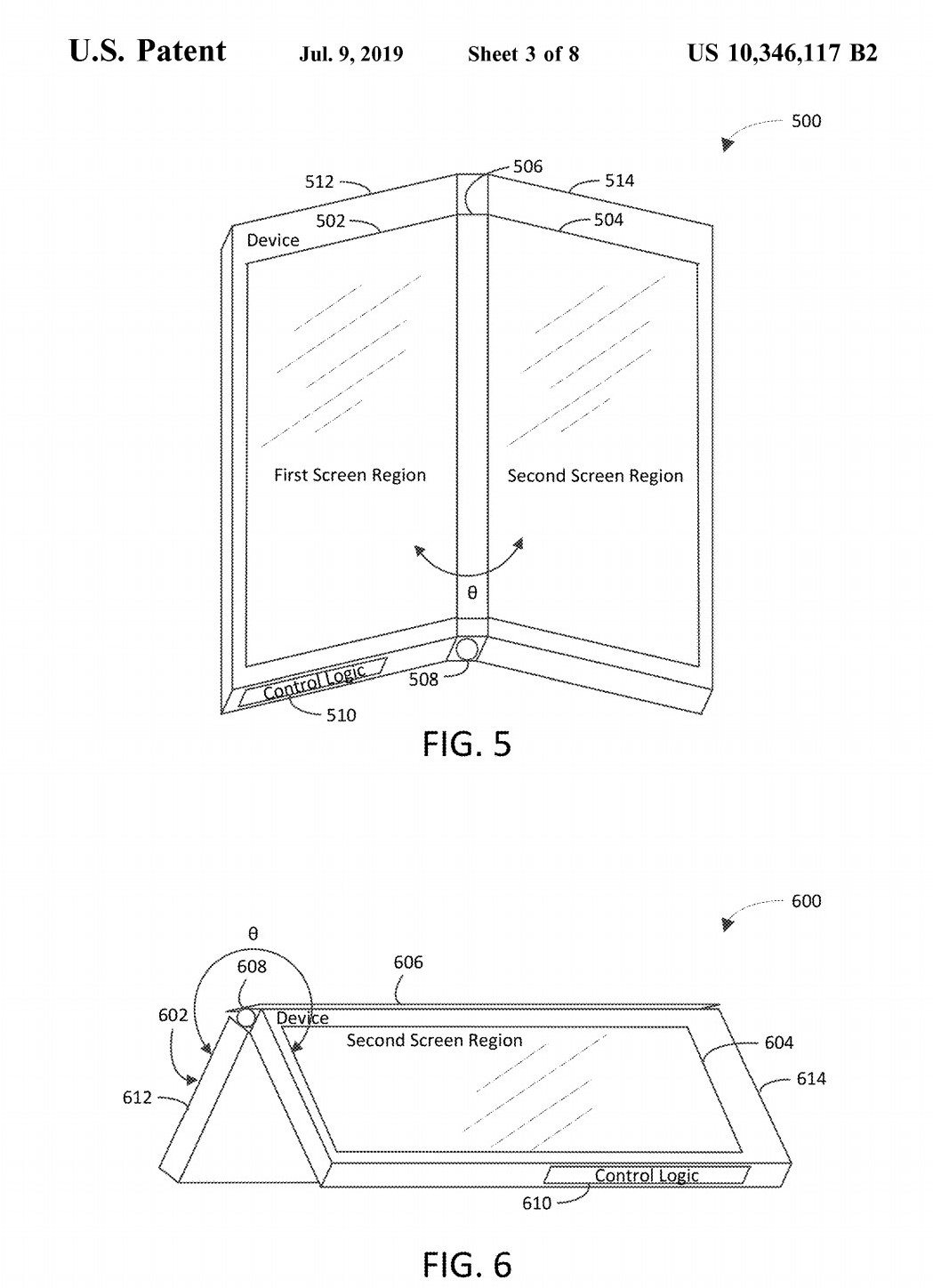
Naturellement, une Surface pliable utiliserait deux écrans différents permettant différents facteurs de forme, notamment un ordinateur portable et une tablette. Les deux écrans seraient reliés l’un à l’autre par une charnière, une pièce physique que Microsoft a déjà révolutionnée dans le cadre de la gamme Surface.
Et d’après ce que l’on voit, le géant du logiciel pourrait vouloir faire la même chose une fois de plus, car la charnière de la Surface repliable pourrait être utilisée pour afficher des notifications.
Comment la charnière serait utilisée ?
Microsoft décrit la charnière comme « une troisième région d’écran ». Le brevet détaille les composants qui seraient utilisés : « Appareil comprenant : une pluralité de zones d’écran comprenant au moins une première zone d’écran, une deuxième zone d’écran et une troisième zone d’écran ; une charnière couplée entre la première zone d’écran et la deuxième zone d’écran, la troisième zone d’écran étant prévue sur la charnière ; et un ou plusieurs processeurs qui effectuent des opérations, comprenant : la détermination des informations à afficher sur la troisième zone d’écran sur la base au moins en partie d’un état de la charnière ; déterminer si le contenu de la première zone d’écran est déplacé vers la troisième zone d’écran ; et fournir le contenu en entrée à une application associée à la troisième zone d’écran ».

Peut-être que cette technologie ira un peu plus loin dans les enjeux d’affichage pour le périphérique à double écran, qui porte jusqu’ici le nom de code Centaurus, et qui aurait apparemment été présenté à des membres du personnel de Microsoft. Mais comme pour tout ce qui est encore au stade des brevets, ce n’est rien de plus qu’une idée, mais avec la supposée Surface pliable pourrait devenir un dispositif véritablement novateur. Ne soyez pas trop surpris si cette fonctionnalité parvient en un produit réel.
Le lancement de la Surface pliable pourrait avoir lieu l’année prochaine si Microsoft ne la reporte pas à nouveau. Nous devons également garder à l’esprit que tout développement matériel peut également dépendre des progrès réalisés sur le plan logiciel : la spéculation veut que Centaurus présente la version allégée de Windows.



