Comme vous l’avez peut-être entendu, Apple a lancé de nouveaux MacBook Pro plus tôt cette semaine, avec les habituelles mises à niveau du processeur et de la mémoire vive (RAM), ainsi que l’ajout de la technologie True Tone pour les écrans. Cependant, moins vanté, c’est son « clavier amélioré de troisième génération » qui promet d’offrir une expérience de frappe plus calme. Apple n’a rien dit sur le fait de faire de vrais changements au mécanisme papillon du clavier.
Ainsi, tout le monde se demandait si le problème de « touches collantes » récemment reconnu était pris en compte par le géant de Cupertino. En fin de compte, elle l’a fait.
Les professionnels du démontage chez iFixit ont découvert qu’Apple avait peut-être amélioré les claviers des nouveaux MacBook Pro 2018 pour empêcher la poussière et d’autres particules de se coincer individuellement sous chaque touche, mais elle est rentrée très silencieuse à ce sujet. Dans leur démontage d’un modèle de 15 pouces, iFixit a trouvé une nouvelle membrane de silicone sous chaque touche du clavier de l’ordinateur portable.

Cette membrane de silicone semble être spécialement conçue pour empêcher la saleté et les autres débris de pénétrer sous les clés et d’interférer avec le mécanisme de l’interrupteur. Ce problème a été un problème avec les récents modèles de MacBook et MacBook Pro, car les particules entraînent des clés verrouillées, impossibles à presser. Après un certain nombre de retours et procès, Apple a récemment reconnu la situation et lancé un programme de réparation gratuit.
Pas de quoi s’en vanter
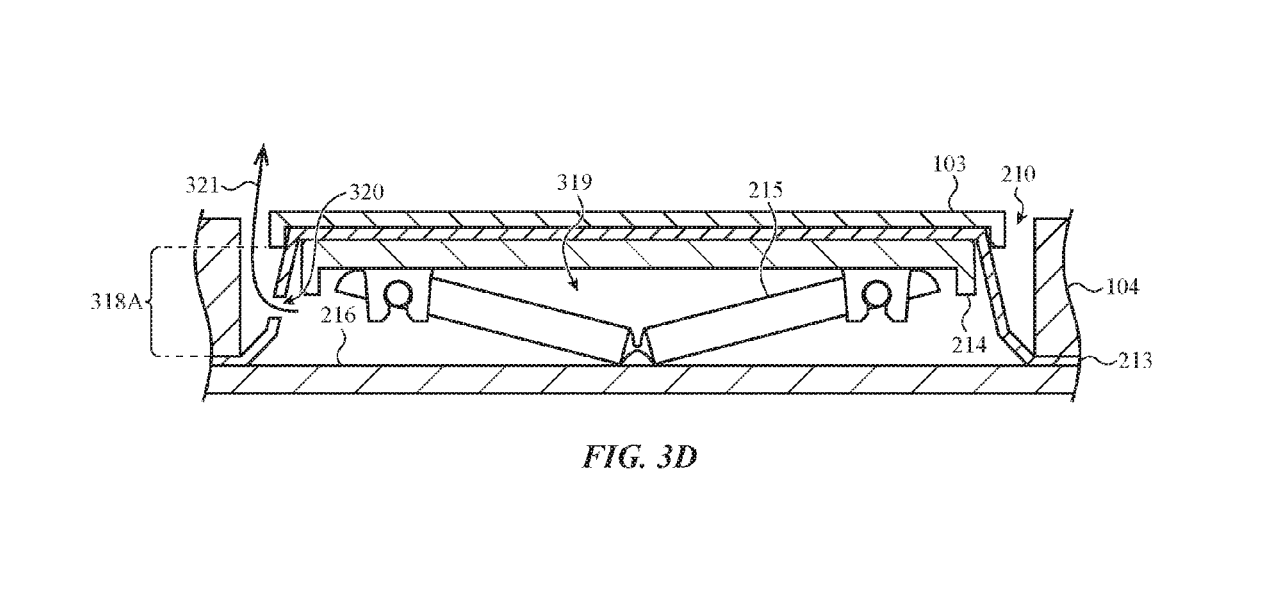
En ce qui concerne le nouveau clavier, la nouvelle solution est quasiment identique à un brevet d’Apple qui a été révélé plus tôt cette année, avec une membrane qui a scellé les lacunes autour des composants mécaniques et pour empêcher les particules de s’accumuler.

iFixit et d’autres ont suggéré que la raison pour laquelle Apple n’annonce pas cette mise à niveau est qu’elle admettrait à son tour qu’il y avait un problème avec le précédent clavier du MacBook Pro, et que cela pourrait entraîner plus de problèmes avec les poursuites en cours.



