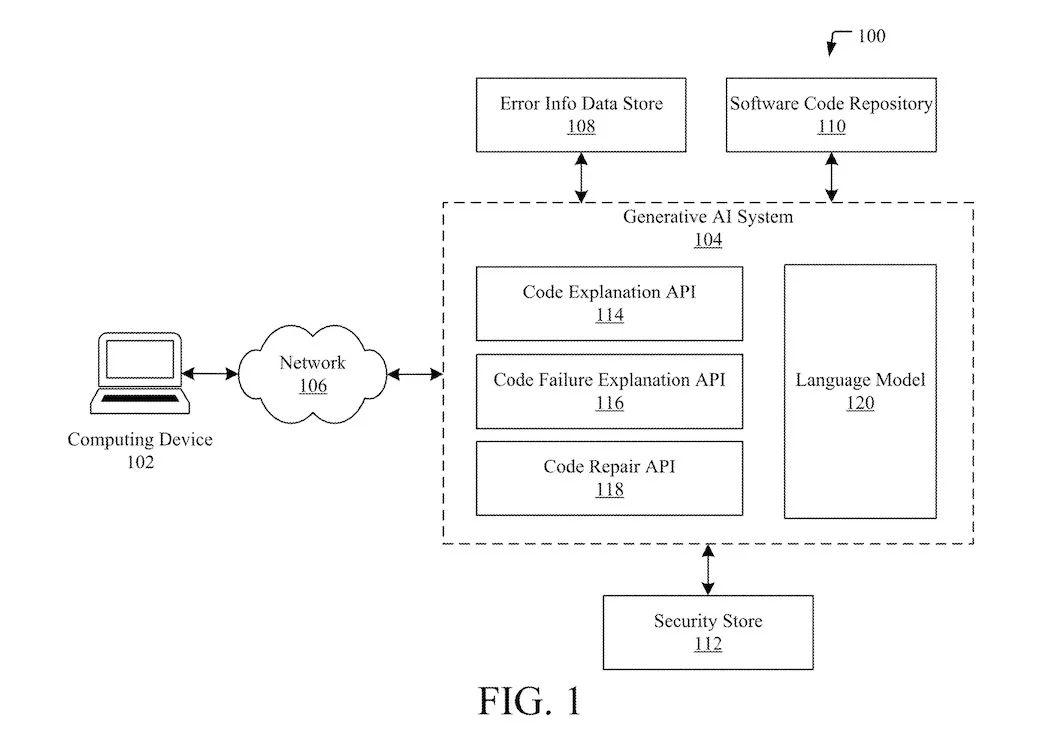
Microsoft a récemment déposé un brevet aux États-Unis pour un système d’intelligence artificielle générative capable de détecter automatiquement les problèmes logiciels et de proposer des correctifs. Cette nouvelle technologie pourrait être intégrée aux systèmes d’exploitation comme Windows 11 et faciliter la résolution des erreurs pour les utilisateurs comme pour les développeurs.
Lorsqu’un utilisateur rencontre un problème logiciel, il pourra soumettre une demande d’analyse. L’IA commencera alors par examiner les informations disponibles afin d’identifier la ligne de code et les fichiers associés responsables de l’erreur. Une fois la cause du problème déterminée, l’IA générera des prompts adaptés pour résoudre le bug.
Ces informations, combinées au contexte et au code source, seront ensuite traitées par un modèle de langage qui proposera une solution.

La réponse fournie pourra prendre plusieurs formes : une solution simple à appliquer pour l’utilisateur, une explication en langage naturel pour mieux comprendre le problème, un correctif de code destiné aux développeurs, voire même une pull request directement intégrable dans un projet.
Une aubaine pour les utilisateurs de Windows 11
Grâce à cette automatisation de la détection et de la correction des erreurs, Microsoft espère réduire le temps nécessaire aux développeurs pour identifier et corriger les bugs, tout en permettant aux utilisateurs ayant des connaissances techniques d’appliquer eux-mêmes les correctifs.
Si cette technologie est bien intégrée à Windows 11, elle pourrait réparer automatiquement certains dysfonctionnements du système et des applications tout en offrant aux utilisateurs des explications claires sur les erreurs rencontrées. Reste à voir quand et sous quelle forme Microsoft rendra cette fonctionnalité disponible.



