Imaginez une minuscule bague que vous portez au doigt, capable de contrôler tout, de votre iPhone à vos appareils de la maison connectée. C’est l’idée derrière la dernière recherche d’Apple, qui travaille sur un projet de bague connectée, selon des informations révélées plus tôt cette année.
Le dernier brevet déposé par Apple suggère que cette bague pourrait devenir le centre névralgique pour contrôler tous vos appareils. Cette bague connectée pourrait vous permettre de piloter votre iPhone, votre Mac, votre HomePod, votre Apple TV, et même vos appareils électroménagers.
Une illustration associée au brevet montre une personne portant des lunettes connectées, qui ressemblent beaucoup au Vision Pro, tout en utilisant la bague pour interagir avec divers appareils.

Fonctionnalités et technologies intégrées
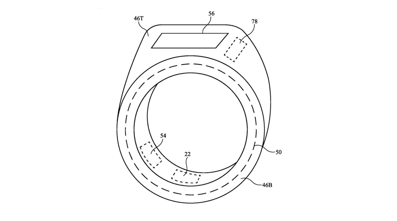
Alors, comment cela fonctionnerait-il ? Le brevet décrit une bague équipée de divers capteurs, notamment des capteurs de force, de proximité et même un microphone. Ces capteurs permettraient à la bague de détecter vos gestes et vos commandes vocales. Par exemple, vous pourriez pointer votre Apple TV et dire « mute » pour couper le son.
Mais cette bague ne se limiterait pas à être une simple télécommande. Une autre fonctionnalité majeure serait le suivi de votre santé. Par exemple, elle pourrait surveiller votre fréquence cardiaque, vos pas, vos habitudes de sommeil, et transmettre ces informations à votre iPhone ou à d’autres produits Apple. Cela rappelle fortement ce que propose déjà la Galaxy Ring de Samsung.

Une assistante personnelle au bout du doigt
Apple envisage également cette bague connectée comme une assistante personnelle que vous porteriez en permanence. Elle pourrait vous aider dans des tâches comme programmer des alarmes, envoyer des messages, ou retrouver votre téléphone.
Bien que les bagues connectées existent depuis un certain temps, il semble que les grandes entreprises technologiques commencent à voir ce format comme une opportunité lucrative pour l’avenir.
Un futur incertain, mais prometteur
Cependant, la question reste de savoir quand, ou même si, Apple lancera cette bague connectée. Ce qui est clair, c’est que la firme explore activement de nouvelles façons d’interagir avec la technologie. Il est donc possible que nous voyions une bague connectée sur le marché dans un proche avenir.
Mais que signifierait l’arrivée d’une telle bague pour l’un des produits les plus populaires d’Apple : l’Apple Watch ? D’après ce que nous avons vu jusqu’à présent, une bague connectée ne pourrait pas remplacer complètement une montre connectée, car elle ne pourrait pas fournir les mêmes données détaillées. Cependant, d’ici à ce qu’Apple lance une telle bague, les choses pourraient bien avoir évolué.



