fermer
Réalité virtuelle et augmentée

Le futur PSVR 2 de Sony pourrait suivre mouvement des yeux

PlayStation VR Gold Headset Aim PSVR
Le futur PSVR 2 de Sony pourrait suivre mouvement des yeux

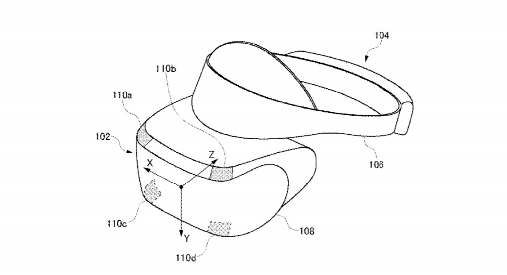
Des fuites et des brevets ont fortement laissé entendre que la PS5 de Sony pourrait être accompagnée d’un casque PSVR 2 amélioré, soit au lancement, soit plus tard dans l’année. Un nouveau brevet vient de rendre public que le nouveau casque pourrait suivre le mouvement des yeux et de la tête.

Qu’est-ce que cela signifie pour un casque de réalité virtuelle (VR) ? Selon un brevet de Sony Interactive Entertainment (image ci-dessous), ce suivi des yeux et de la tête améliore l’immersion en affinant ce que voit chaque œil, autrement dit les « images de parallaxe », pour une profondeur stéréoscopique améliorée. Sony développe également une technologie permettant de garder ces images relatives lorsque vous faites pivoter/inclinez la tête.

Mais il existe d’autres possibilités de suivi de l’œil dans la réalité virtuelle, notamment des méthodes de contrôle alternatives et/ou des options d’interface, ce qui serait une excellente option d’accessibilité pour les joueurs handicapés.

9PA3476nHTiR44DopMneA4

Pas seulement pour le PSVR ?

La VR n’est pas le seul endroit où Sony se penche sur le suivi des yeux. Un autre brevet décrit les caractéristiques d’un dispositif de suivi de l’œil qui pourrait être une simple caméra. Toutefois, étant donné que le contexte du brevet concerne « les méthodes permettant de renvoyer des résultats de recherche précis et pertinents sur une plateforme en ligne », il est possible que la société travaille sur une plus grande stratégie d’interface de suivi des yeux parmi ses autres dispositifs.

Par exemple, un successeur du PlayStation Move ? Selon le brevet : « Une caméra de télémétrie peut être utilisée avec la présente invention pour capturer les gestes effectués par l’utilisateur et être capable de reconnaissance faciale ». Et, ces applications pourraient aller au-delà des périphériques de la console : le périphérique de connexion pourrait être « un ordinateur polyvalent, un décodeur ou une console de jeu portable ».

Bien entendu, il ne s’agit que de concepts brevetés dont la mise en œuvre peut prendre des années dans des dispositifs futurs tels que le prochain PSVR — s’ils sont réellement mis en œuvre.

Tags : brevetPS5PSVR 2Sony
Yohann Poiron

The author Yohann Poiron

J’ai fondé le BlogNT en 2010. Autodidacte en matière de développement de sites en PHP, j’ai toujours poussé ma curiosité sur les sujets et les actualités du Web. Je suis actuellement engagé en tant qu’architecte interopérabilité.