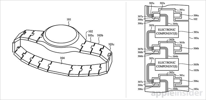
L’Apple Watch 2 est une montre connectée assez épaisse à placer à votre poignet. Mais, Apple pourrait lutter contre ce problème pour la future et présupposée Apple Watch 3 en apportant certaines fonctionnalités avec un bracelet modulaire. L’idée d’Apple est d’apporter des composants électriques loin de l’appareil lui-même, et les placer dans le bracelet à la place.
Celles-ci pourraient inclure la batterie, des capteurs biométriques, des haut-parleurs, des caméras ou même des batteries solaires pour charger l’appareil quand vous sortez. Identifiée par Apple Insider, la technologie a été détaillée dans un brevet déposé par Apple en 2015, publié en mars 2016, et maintenant accordé.
Peut-être que l’élément le plus intéressant est la façon dont ces modules pourront rapidement être remplacés. Par exemple, si vous souhaitez inclure un capteur de pression artérielle depuis quelques mois, vous seriez en mesure de le clipper sur le bracelet de la montre pour surveiller votre santé.
Une montre plus personnalisée

Lorsque vous n’avez pas besoin du module, vous pouvez ensuite l’échanger pour une autre caractéristique. Cela peut aussi signifier que le prix de base de l’Apple Watch pourrait diminuer, et vous permettant de dépenser des centaines d’euros pour des caractéristiques que vous voulez avoir sur une smartwatch.
Le brevet montre que les modules seraient simples à clipser et déclipser du bracelet, de sorte que vous pourrez même changer les caractéristiques de la montre connectée quotidiennement. Quoi qu’il en soit, ce brevet laisse entendre que votre Apple Watch serait plus pertinente en fonction de vos besoins.
Cette technologie ne sera probablement pas prête pour le future Apple Watch 3, et il n’est même pas certain que c’est quelque chose qu’Apple développe activement. En tout cas, cela semble très passionnant !



