L’Apple Watch n’a pas reçu de mise à niveau matérielle depuis qu’elle a été libérée, il y a maintenant treize mois. Mais, dès lors que celle-ci recevra le listing que tout le monde attend, il y a de fortes chances que l’Apple Watch dispose d’une caméra, si l’on en croit un récent brevet d’Apple, qui doit néanmoins être pris avec des pincettes.
Au sein d’une récente collection de documents publiés par l’US Patent and Trademark Office, l’instance administrative chargée d’émettre des brevets et des marques déposées aux États-Unis, quelques petites illustrations font allusion à l’avenir du design de l’Apple Watch, y compris l’appareil photo intégré.
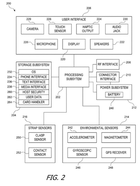
Bien que les documents soient une référence à pousser des informations spécifiques sur l’Apple Watch, un tuyau en forme d’appareil photo intégré est visible si vous regardez d’assez près les schémas. Plus précisément, la figure 2 dans le document mentionne un appareil photo dans l’interface utilisateur de l’Apple Watch.

Des selfies réalisées par l’Apple Watch ?
Dans le texte du document, Apple fait mention d’un appareil photo numérique compact qui comprend un capteur d’image tel qu’un capteur CMOS et des composants optiques (par exemple des lentilles) agencés pour réaliser le focus d’une image sur le capteur lui-même.
Même si Apple ne fournit pas de détails sur ce que serait le but d’une caméra embarquée, comme l’a noté Patently Apple, les documents mentionnent que la caméra pourrait être utilisée pour capturer des QR codes, et d’autres données analysables. Elle pourrait également permettre de capturer une image de la personne portant la montre — le selfie de demain ?.
Il sera intéressant de voir si oui ou non cette caractéristique sera mise en œuvre dans la prochaine itération de l’Apple Watch. Contrairement à la date de sortie constante de l’iPhone, Apple n’a même pas encore fait allusion à une date de sortie pour la smartwatch de prochaine génération.
Cependant, on s’attend à ce que l’Apple Watch 2 arrive aux côtés de l’iPhone 7, au mois de septembre.



