L’iPhone a longtemps été connu pour son excellent appareil photo, et sa capacité à prendre d’étonnantes photos, et une nouvelle demande de brevet d’Apple récemment publiée, indique que la caméra pourrait faire encore mieux dans un proche avenir.
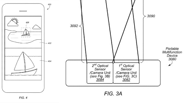
Les rumeurs de deux caméras à l’arrière d’un iPhone sont apparues il y a un certain temps maintenant, mais avec la demande de brevet, qui a été déposée le 30 juin 2015, nous savons maintenant beaucoup plus sur la façon dont les caméras seraient utilisées. Plus important encore, en plaçant deux modules de caméra derrière un seul objectif, permettrait de fournir à l’iPhone la possibilité de basculer entre les focales, et activer la fonctionnalité de zoom optique. En bref, vous seriez en mesure de prendre des photos zoomées d’une qualité beaucoup plus élevée.
D’autres utilisations incluent le tournage simultanément d’une vidéo à vitesse normale et au ralenti (ou dans de multiples résolutions), de zoomer sur un élément et de faire un plan large dans le même temps, ou de prendre des images fixes en haute résolution pendant l’enregistrement vidéo.

Un logiciel pour mettre ceci en exergue
Le brevet indique également qu’Apple travaille sur un logiciel de montage, qui tire parti de ces capacités en combinant les différentes photos et vidéos capturées, que ce soit manuellement ou automatiquement, afin de créer une “expérience beaucoup plus attrayante”.
Bien sûr, un brevet ne signifie pas nécessairement que le concept va faire son apparition dans un produit final, mais étant donné l’accent mis par Apple sur la caméra de l’iPhone et le fait que l’équipe derrière se composant est de 800 ingénieurs, il ne serait pas du tout surprenant de voir une telle caractéristique lancée avec l’iPhone 7.



