Une future Apple Watch pourrait avoir un écran qui s’étend autour du bracelet, si l’on se réfère à un brevet fraîchement publié par Apple, suggérant que la société basée à Cupertino travaille sur des écrans flexibles et plus encore. Déposé auprès de l’Organisation mondiale de la propriété intellectuelle (OMPI) en septembre dernier, le brevet décrit un nouveau module d’écran qui pourrait libérer l’écran tactile de l’Apple Watch du châssis et lui permettre de s’étendre dans le bracelet.
L’actuelle Apple Watch utilise un panneau OLED, qu’Apple a élargi pour les deux tailles de smartwatches lors de la série de sa Series 4. La société est également connue pour travailler sur MicroLED, une nouvelle technologie d’affichage qui présente de potentiels avantages en matière de facteur de forme et de consommation d’énergie.
Désormais, une demande de brevet récemment publiée a été consacrée aux potentiels avantages d’une matrice MicroLED pour la conception d’une smartwatch, voire d’autres composants électroniques. En utilisant des interconnexions flexibles entre la matrice de LED, explique Apple, ce substrat flexible pourrait être courbé. La façon dont cela serait mis en œuvre dépend de la conception finale de l’appareil.
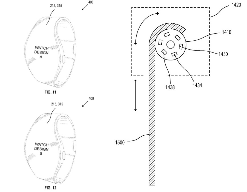
Par exemple, Apple décrit d’abord une smartwatch dans laquelle le bracelet pourrait être changé pour montrer différents designs. Contrairement à ce que nous avons vu par le passé, la technologie flexible MicroLED d’Apple pourrait potentiellement afficher différents coloris et graphiques de résolution supérieure, et surtout en couleur.

De grands projets grâce à MicroLED
Une deuxième possibilité décrite dans le brevet pourrait transformer le bracelet en un écran secondaire, avec un support tactile pour les interactions. En bref, l’interface de watchOS pourrait ne plus être limitée au panneau carré de l’actuel écran tactile OLED, mais s’étendre pour plus d’interaction.

Bien sûr, même si Apple utilise son Apple Watch pour illustrer ses développements MicroLED, cela ne veut pas dire que la technologie se limiterait à la montre connectée. Les écrans flexibles et enroulables pourraient être tout aussi utiles dans les futurs iPhone ou dans des facteurs de forme nettement plus importants, tels que les téléviseurs.
Il est beaucoup trop tôt pour que MicroLED ait un impact sur les iPhone 2019. De la même manière, rien ne garantit que les travaux d’Apple dans les laboratoires passent au stade de production. Il est probable qu’Apple s’intéresse à la technologie de l’écran pour ses futures lunettes connectées de réalité augmentée (AR).



