Les smartphones avec des écrans pliants font fureur ces jours-ci, mais il semble que différents fabricants ont des approches différentes. Le smartphone FlexPai de Royole se plie en deux, de sorte qu’une partie de l’écran de 7,8 pouces du smartphone devient un écran de 4,5 pouces. Le futur smartphone à écran pliable de Samsung se pliera dans l’autre sens, de sorte que l’écran de la taille d’une tablette se trouve à l’intérieur et que vous utilisiez en fait un écran externe secondaire lorsque le smartphone est plié en deux.
Pendant ce temps, il semble que le nouveau smartphone pliant de Motorola se plie davantage comme un téléphone à clapet. Plutôt qu’un smartphone qui se déplie pour devenir une tablette, imaginez un smartphone qui se plie en deux pour devenir un téléphone plus petit.
Le Wall Street Journal a annoncé la semaine dernière que Motorola envisageait de redynamiser sa marque Razr afin de lancer un nouveau smartphone doté d’un écran pliable et d’un prix pouvant atteindre 1 500 dollars.
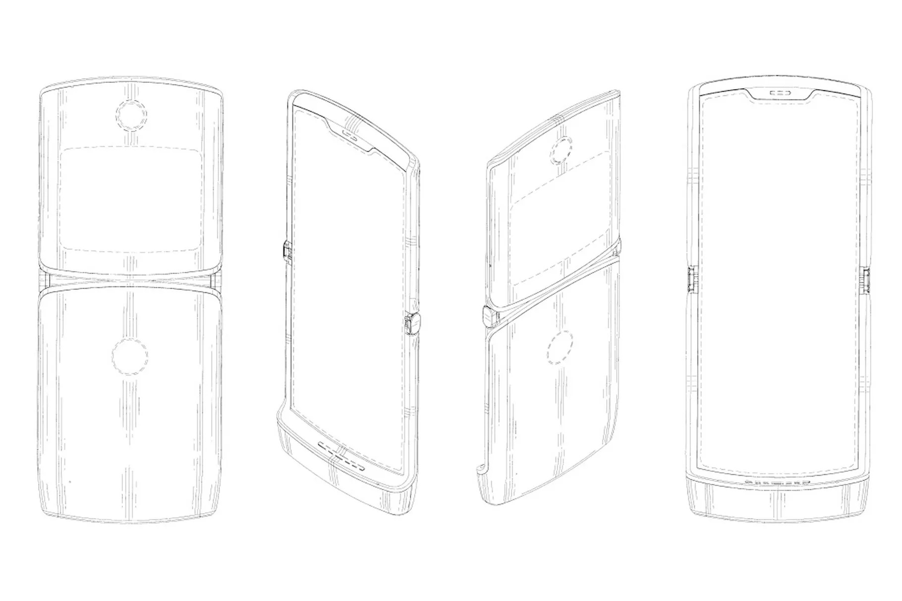
Maintenant, 91mobiles ont découvert un dépôt de brevet de Motorola qui montre un smartphone avec un écran flexible, une charnière au milieu et un écran à deux panneaux avec un petit écran dans la partie supérieure et ce qui semble être un capteur d’empreintes digitales en bas.

Un simple brevet pour le moment
Lorsque le smartphone est ouvert, vous pouvez interagir avec lui comme un smartphone traditionnel avec un écran tactile. Une fois fermé, vous pourrez probablement voir les messages texte entrants, les alertes d’appels téléphoniques et d’autres notifications sur l’écran secondaire.
Il est important de noter que les lignes en pointillés dans les demandes de brevet ne sont pas réellement couvertes par le brevet : ce sont simplement des illustrations qui illustrent un possible exemple de la façon dont le dessin ou modèle protégé par le brevet pourrait fonctionner. En d’autres termes, même si Motorola publie un smartphone qui ressemble à celui présenté dans la demande de brevet, rien ne garantit que l’écran principal ou secondaire, le capteur d’empreintes digitales ou l’emplacement de la caméra dans les images seront exacts.



