fermer
Smartwatches

Apple brevette un bracelet pour Apple Watch avec 2 caméras

Apple Watch facetime
Apple brevette un bracelet d'Apple Watch avec 2 caméras

Les rumeurs d’une Apple Watch équipée de la caméra FaceTime circulent depuis des années et un brevet récemment publié et relayé par AppleInsider explique comment le géant de Cupertino pourrait la faire fonctionner.

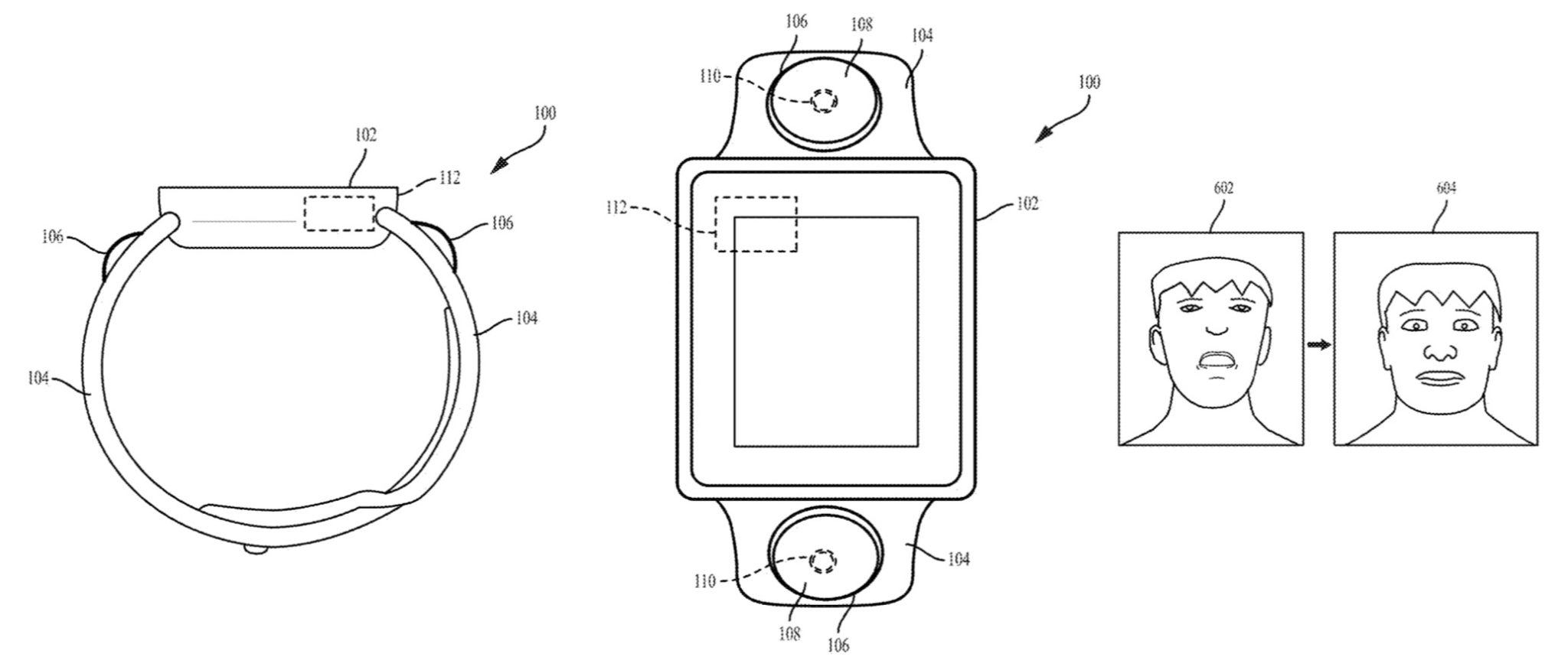
Plutôt que de placer une caméra à l’intérieur du boîtier de la Watch, la société envisage de placer deux caméras dans un bracelet, puis d’utiliser un logiciel de traitement automatique des images pour rendre les enregistrements photo et vidéo utilisables.

L’intégration d’une caméra dans la montre peut vous permettre de regarder directement dans l’objectif pour les appels, mais cela limiterait à la fois la taille de la caméra — une considération majeure étant donné les tendances techniques d’Apple — et l’angle de prise de vue. En installant deux caméras grand-angles sur le bracelet, Apple suggère aux utilisateurs de « capturer des images d’eux-mêmes ou de leur environnement », soit en rassemblant les deux clichés, soit en découpant le visage d’une personne, quel que soit ce que les caméras voient.

28500 44450 181113 Watch l

Le recadrage automatique avec la reconnaissance faciale est la clé de l’utilisation de ce système de caméra avec FaceTime. Le brevet suggère que l’utilisateur peut enregistrer son visage pour le suivi automatique ou sélectionner d’autres cibles de suivi à l’écran. Et, la montre resterait automatiquement centrée sur le bon visage dans les discussions FaceTime individuelles ou en groupe.

De la reconnaissance faciale

Un autre élément clé du brevet est un algorithme de traitement d’image qui pourrait présenter le visage de l’utilisateur sous un angle plus flatteur. Plusieurs solutions sont proposées, telles que le réglage de base de l’angle, l’utilisation de données faciales précédemment enregistrées ou le remplacement d’un visage réel par un avatar de style Animoji ou Memoji.

28500 44452 181113 Watch 3 l

Ce qui est particulièrement intéressant à propos de ce concept, c’est qu’il est clairement prévu depuis un certain temps. Le brevet vient d’être accordé, mais il a été déposé en septembre 2016, avant la sortie des iPhone et des iPad avec les caméras de détection de profondeur qui permettent la reconnaissance faciale et les concepts d’avatar en temps réel dont il est question. Nous verrons si Apple est en mesure de l’ajouter ou non sur son Apple Watch.

Tags : AppleApple Watchbrevet
Yohann Poiron

The author Yohann Poiron

J’ai fondé le BlogNT en 2010. Autodidacte en matière de développement de sites en PHP, j’ai toujours poussé ma curiosité sur les sujets et les actualités du Web. Je suis actuellement engagé en tant qu’architecte interopérabilité.