fermer
Smartphones

Galaxy X : le plein de détails sur les spécifications de l’écran pliable

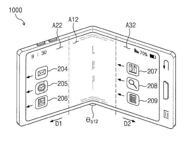
samsung folding phone patent 1
Galaxy X : le plein de détails sur les spécifications de l'écran pliable

Samsung prévoit de dévoiler son smartphone pliable, officieusement nommé Galaxy X, lors du Mobile World Congress 2019, selon de nouvelles fuites en provenance de Corée du Sud. Le smartphone serait le premier à tirer pleinement parti de la technologie d’écran OLED pliable. Et, Samsung a déclaré être prête à passer le projet du concept à la production.

Les smartphones pliants restent l’une des idées les plus révolutionnaires de l’électronique grand public. Plusieurs entreprises ont essayé d’adopter une telle approche avec différents facteurs de forme, mais jusqu’à présent ils ont seulement créé deux smartphones, et en les rassemblant avec une charnière. Par conséquent, même complètement déplié, l’écran n’est pas une seule unité, mais séparé par un trait plus ou moins épais.

Cependant, la tentative de Samsung est considérée comme beaucoup plus avancée. Elle a utilisé les technologies OLED flexibles développées par Samsung Display pour créer un smartphone haut de gamme ciblant les early adopters (adopteurs précoces). Cela signifie une production à petite échelle et très probablement à un prix assez élevé.

Selon une publication de The Bell, Samsung a récemment changé l’ancien nom de code du smartphone — « Valley » — en une nouvelle version. Désormais, nommé Samsung « Winner », c’est le nom par lequel le projet est mentionné lorsque l’entreprise discute de composants et d’autres facteurs avec des partenaires externes. Si « Valley » existait depuis 2015, ce nouveau nom de code est censé marquer la transition de l’appareil du développement théorique à la production.

Trois écrans envisagés ?

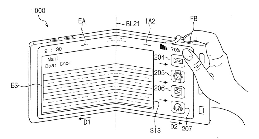
samsung folding phone patent 2

Pourtant, bien que les discussions d’un smartphone pliant aient circulé depuis un certain temps maintenant, rien n’a encore réellement été fixé sur ce que le facteur de forme pourrait effectivement être. En effet, plusieurs brevets ont suggéré que la société sud-coréenne envisage plusieurs configurations. Certains voient deux sections d’écran reliées par une charnière sur leurs bords les plus longs, se dépliant en un rectangle plus large comme un livre. D’autres le voient comme un smartphone à clapet.

Selon cette nouvelle fuite, le prototype de Samsung utilise un total de trois panneaux OLED, chacun d’environ 3,5 pouces. Deux de ces panneaux sont joints, créant un écran de 7 pouces. L’écran restant est à l’arrière du smartphone, permettant d’accéder à certaines fonctionnalités même lorsque l’appareil est plié.

Un modèle très attendu

On ne sait pas vraiment dans quelle mesure cela se répercutera sur le produit final et, bien sûr, les plans de Samsung pourraient bien changer entre-temps — ou ont déjà changé. Même lorsque la conception finale sera arrêtée, ce qui devrait avoir lieu en novembre 2018 au plus tard, le Galaxy X ne sera probablement produit qu’en petit nombre.

Cela reflétera la complexité de sa production, et le fait que c’est vraiment une tentative de Samsung pour évaluer la réaction du marché. Nous en saurons probablement plus à mesure que nous nous approcherons du MWC 2019. Avant cela, Samsung devrait sortir son nouveau smartphone phare, le Galaxy Note 9.

Tags : Galaxy XMWC 2019Samsung
Yohann Poiron

The author Yohann Poiron

J’ai fondé le BlogNT en 2010. Autodidacte en matière de développement de sites en PHP, j’ai toujours poussé ma curiosité sur les sujets et les actualités du Web. Je suis actuellement engagé en tant qu’architecte interopérabilité.