Il ne fait aucun doute que les montres connectées prendront plus de place sur le secteur de la technologie portable à l’avenir, mais aujourd’hui, elles n’offrent pas toutes les fonctionnalités que nous sommes en droit d’espérer.
Mais, que va t-il en être si Apple décide de pousser la technologie non pas dans un dispositif sur nos poignets, mais dans quelque chose qui est déjà un pilier dans la garde-robe d’un citadin moyen ?
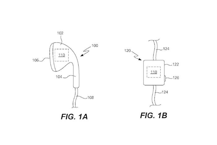
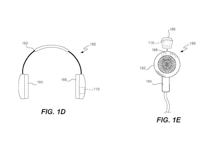
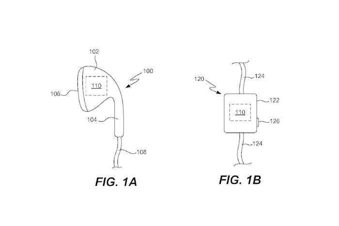
Il s’avère que la société de Cupertino a patiemment attendu l’approbation d’une demande de brevet pour quelque chose qui correspond à ce profil : des écouteurs qui peuvent surveiller vos signes vitaux physiques en temps réel, et ainsi fournir une rétroaction rapide et une source de motivation personnalisées via une évaluation de votre corps.
Le brevet, intitulé “Sports monitoring system for headphones, earbuds and/or headsets”, aurait été déposé en 2008 et validé hier, le 18 février 2014, par le bureau américain en charge de ces affaires.
Ce dernier vise à monitorer vos signes vitaux à travers des écouteurs, tout en apportant un nouveau style de fonctionnalité et contrôle de l’utilisateur. Par exemple, le porteur de ce casque d’Apple, ne fera que déplacer sa tête d’une manière ou l’autre pour mettre en pause une piste, passez à la suivante, ou modifier le volume, ayant ainsi toujours les mains libres.


De plus, la technologie va nous permettre de faire de magnifiques hochements de tête dans la rue, le métro et même sur votre vélo – oui j’imagine parfaitement la scène, nous permettra également de connaître à quelle vitesse notre cœur bat, quelle est la température de notre organisme et même le degré de transpiration. Et la connaissance intime de ce casque sur nos organismes lui permettra de choisir le moment précis pour nous pousser de la musique rythmée ou calme, afin de fournir à vos oreilles une certaine motivation musicale personnalisée.
Qu’en pensez-vous ? Y a t-il des raisons de croire que le brevet d’Apple était très attendu par la firme de Cupertino, qui a déjà investi et prévu sa libération ?



