Samsung a déposé une demande de brevet pour un smartphone doté d’un écran « extensible ». Mais avant de vous emballer pour ce dernier, sachez qu’il est peu probable que celui-ci arrive prochainement dans les boutiques, et encore moins chez vous.
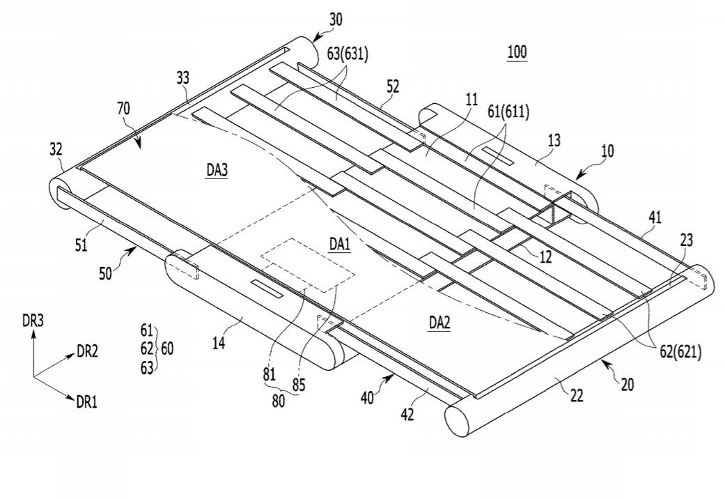
Nous avons vu plusieurs brevets de diverses entreprises pour définir ce que pourrait être un smartphone pliable, et Samsung a même montré un tel smartphone au CES cette année. Le concept de ce smartphone extensible est différent, car il dispose d’un écran en trois parties. En position fermée, l’appareil ressemble plutôt à un smartphone standard. Cependant, la position ouverte comporte deux panneaux d’écran supplémentaires qui peuvent être retirés des côtés de l’appareil. Ces panneaux devraient être légèrement flexibles, selon le brevet. Ainsi, afin d’élargir l’écran du smartphone, l’utilisateur doit délicatement plier l’écran flexible pour glisser les panneaux supplémentaires.
Il est difficile d’imaginer comment un appareil comme celui-ci fonctionnerait. Il semble que ce serait un cauchemar d’avoir à le réparer, et l’utilisation de pièces mobiles pour un composant sensible comme l’écran présente de nombreuses possibilités de problèmes. Il est également un peu difficile de voir à quoi ressemblerait l’écran élargi, car j’imagine actuellement un téléphone avec un large écran comportant des lignes qui descendent de chaque côté de l’écran. Pas sûr qu’une telle solution sera retenue.
Comme le souligne Patently Apple, le géant technologique coréen a déposé la demande en juillet 2017, puis le US Patent and Trademark Office l’a publié au début du mois.
Regarder des vidéos panoramiques sur un téléphone
À ce jour, il ne s’agit encore que d’une demande de brevet, il n’y a donc pas beaucoup de détails sur le fonctionnement du smartphone, mais ce qui ressort clairement du brevet, c’est que l’écran extra large vise à permettre aux utilisateurs de voir des vidéos en grand écran. Évidemment, avoir deux panneaux qui peuvent être retirés des côtés signifierait que l’appareil devrait être plus épais que le smartphone que l’on connaît aujourd’hui. Cela va donc à l’encontre de la tendance actuelle qui est d’amincir le smartphone.
Cependant, ceux qui aiment regarder des vidéos en grand écran sur leurs appareils mobiles peuvent être disposés à accepter un téléphone plus épais en échange de cette caractéristique. Patently Apple suggère qu’un appareil comme ce smartphone extensible pourrait être très populaire avec l’adoption croissante de la technologie 5G, qui devrait faciliter le visionnage de vidéos sur des connexions de données mobiles.
Bien sûr, comme presque toutes les autres entreprises technologiques de la planète, Samsung produit régulièrement des demandes de brevets, et nombre d’entre eux ne finissent jamais par devenir un véritable produit disponible sur le marché.



