Nous savons depuis un certain temps (ou du moins, nous l’espérons) que Microsoft travaille sur un nouvel appareil mobile — Surface Phone — avec des écrans pliables. Et au cours des derniers mois, nous avons été inondés de brevets nous donnant un aperçu de la façon dont tout cela pourrait fonctionner.
À en juger par toutes ces informations, le nouvel appareil mobile, qu’il s’agisse d’une tablette ou d’un smartphone, sera équipé d’écrans pliables reliés entre eux par une nouvelle charnière supportant plusieurs facteurs de forme, y compris un mode tablette et smartphone lorsque l’appareil est fermé comme un livre.
Et un brevet récemment découvert intitulé « charnière modulaire pour un appareil informatique » décrit non seulement la charnière que Microsoft pourrait utiliser, mais il apporte également une idée qui jusqu’à présent a rarement été discutée : et si le nouveau projet de Microsoft est en fait un appareil modulaire ?
Le brevet explique comment l’un des écrans pourrait être complètement détaché de l’autre, ce qui signifie que chacun pourrait fonctionner indépendamment, probablement à des fins différentes. Cela suggère que le probable Surface Phone/Andromeda pourrait adopter une idée analogue à celle utilisée pour la Surface Pro, qui est dispose d’un clavier détachable, permettant de passer rapidement d’un ordinateur portable à une tablette.
Comment ça pourrait marcher
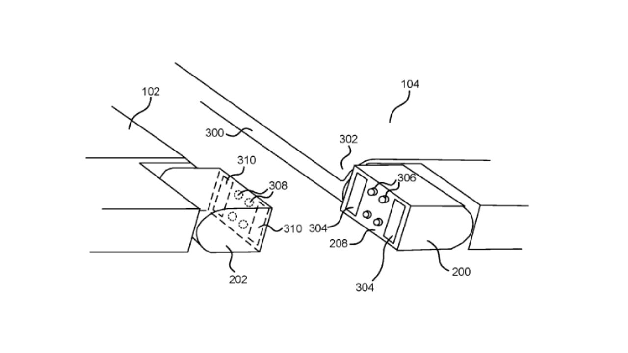
La section abstraite du brevet et le dessin que vous pouvez voir joint à cet article décrivent en détail comment l’ensemble de ce système pourrait être implémenté : « Une charnière modulaire est décrite pour un dispositif informatique dans lequel le dispositif comprend deux feuilles connectées de manière détachable à l’aide d’une charnière modulaire ».
Pour rappel, les brevets ne sont pas censés être considérés comme la preuve vivante qu’un certain dispositif ou une caractéristique arrive sur le marché. Autrement dit, prenez ces informations avec des pincettes pour le moment. Espérons que Microsoft nous surprenne cette année !



