Lorsque le Samsung Galaxy Fold a été lancé, il était confronté à toutes sortes de problèmes liés à son délicat écran pliable. L’un de ces problèmes est l’apparition de lignes de plis sur la zone couvrant la charnière.
Apple se prépare peut-être à jeter son dévolu sur le marché du smartphone pliable. Repéré par MacRumors, l’U.S. Patent and Trademark Office a accordé à Apple un nouveau brevet qui comporte un mécanisme de charnière sophistiqué pour « un appareil électronique qui utilise un affichage flexible ».
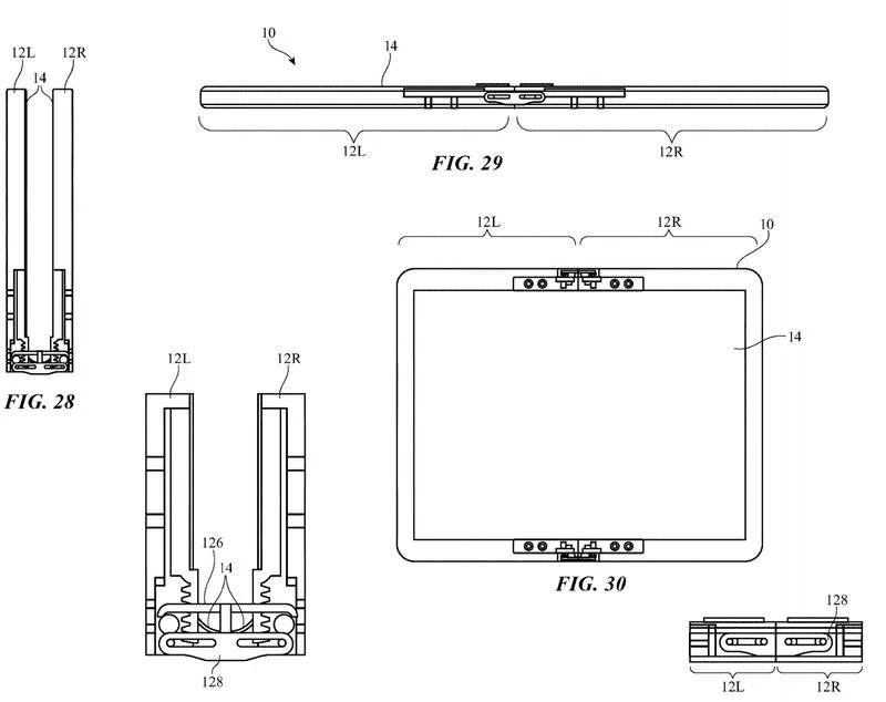
Le point fort de ce design est une paire de composants qu’Apple appelle « volets mobiles » qui empêche l’écran d’être froissé lorsqu’il est plié — un défaut courant que l’on trouve sur les dispositifs pliables que la plupart des fabricants comme Samsung n’ont pas encore pu résoudre.
Les rabats mobiles forment ensemble un boîtier plus grand qui permet un support de l’écran pliable. Pour minimiser la tension sur le panneau, qui est la cause de l’apparition des plis sur ces appareils, Apple permet à l’écran de se courber légèrement vers l’extérieur à partir du centre, produisant une courbe au lieu de rester à plat. Cependant, lorsque l’utilisateur déplie l’appareil, les rabats s’étendent sur tout l’écran pour former une surface continue et ainsi supporter la vulnérable partie centrale par en dessous.
D’après les illustrations que Apple a incluses, cela semble bien trop complexe et fragile. L’absence d’une vidéo conceptuelle signifie également que nous ne savons pas comment l’ensemble de la configuration fonctionnerait.

Un simple brevet
Mais notez que l’existence de ce brevet ne signifie pas nécessairement qu’Apple lancera un appareil pliable dans les deux ans à venir. Au contraire, la société brevète simplement une idée qui pourrait potentiellement résoudre la seule complication qui a principalement gâché les smartphones pliables jusqu’ici. Si Apple lance un appareil pliable, elle en proposera probablement une version améliorée.
Ce n’est pas non plus la première fois qu’Apple fait breveter une technologie pour les appareils pliables.



