fermer
Mobile

Apple cherche à rendre vraiment étanche son iPhone

iphone 7 pool tests water splash
Apple cherche à rendre vraiment étanche son iPhone

Les iPhone sont déjà dotés d’un indice de protection IP68, ce qui signifie qu’ils pourraient passer environ 30 minutes dans des eaux profondes de 2 mètres. Toutefois, comme d’autres fabricants, Apple réfléchit toujours aux moyens de parvenir à une étanchéité complète.

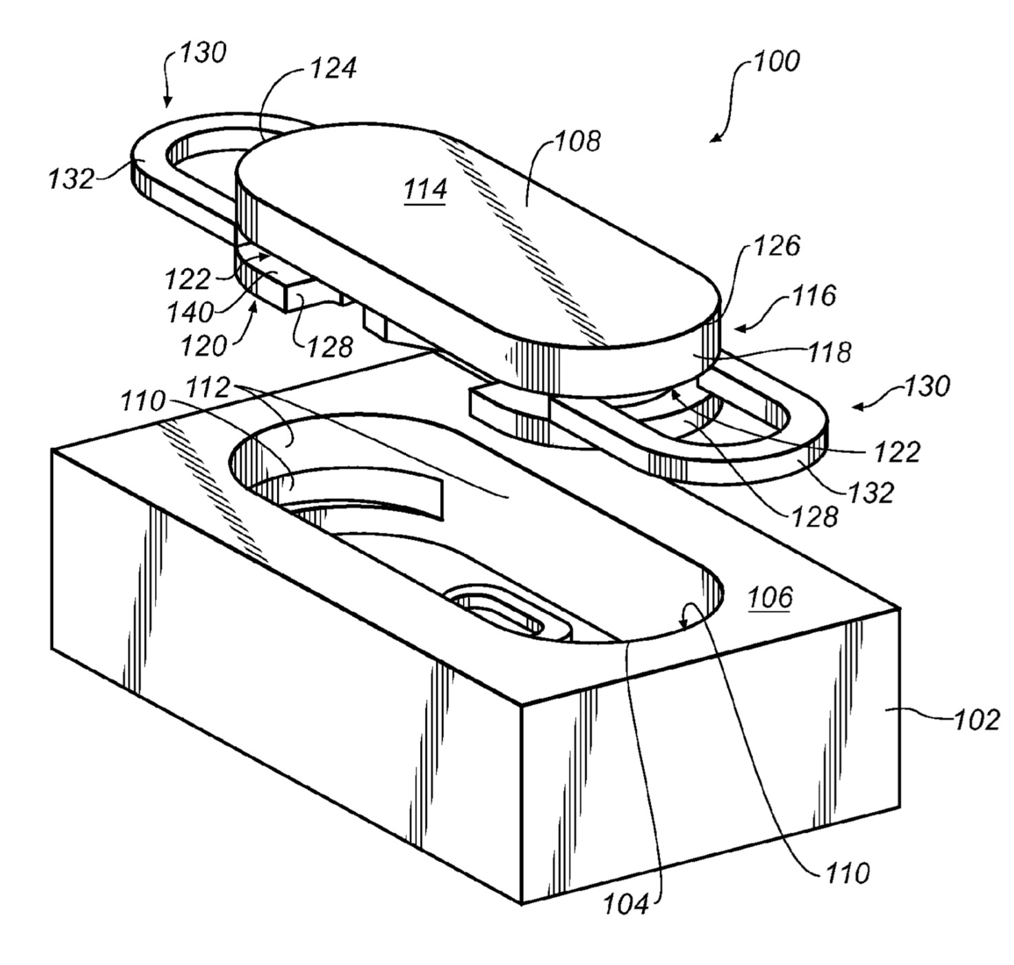
Dans un brevet récemment découvert par AppleWorld, Apple explique aujourd’hui que l’un des défis à relever pour rendre l’iPhone totalement étanche consiste à utiliser des boutons physiques.

En raison de leur conception, les boutons physiques ne permettent pas une étanchéité parfaite, et Apple étudie plusieurs idées pour résoudre ce problème.

Une méthode qui pourrait s’avérer efficace consiste à concevoir un nouveau boîtier pour les boutons, qui lui-même serait spécifiquement imperméabilisé, assurant ainsi qu’aucune eau ne glisserait lorsque les boutons sont pressés.

« L’ensemble de bouton étanche peut comprendre un boîtier comprenant une ouverture et un bouton. Le bouton peut être positionné au moins partiellement à l’intérieur du boîtier par l’ouverture. L’ensemble peut également comprendre une pluralité de composants d’engagement positionnés aux extrémités opposées du bouton. Cette pluralité de composants d’engagement peut être configurée pour retenir le bouton à l’intérieur du boîtier », explique Apple dans le brevet.

Waterproof patent

Juste un brevet, pas une caractéristique certaine

Est-ce que cela signifie que l’iPhone deviendrait totalement étanche ? Pas nécessairement, mais Apple affirme que son approche complexe, qui comprendrait des supports supplémentaires et d’autres composants, pourrait aider à réduire les risques que l’eau atteigne les entrailles.

« Les composants d’engagement peuvent s’étendre à distance du bouton, de sorte qu’une partie des composants d’engagement peut être positionnée dans des ouvertures formées dans la paroi latérale du boîtier. L’ensemble peut également comprendre une pluralité de supports, un dôme tactile en contact avec le bouton et au moins un parmi la pluralité de supports. Un composant détectant l’ensemble peut être positionné près du boîtier et en alignement avec le bouton et/ou le dôme tactile pour détecter l’actionnement du bouton à l’intérieur de l’ensemble », explique la société.

Bien sûr, il y a encore beaucoup de chemin entre le brevet et la production de masse de toute technologie, alors ne rêvez pas de prendre votre iPhone dans la piscine.

Tags : ApplebrevetiPhone
Yohann Poiron

The author Yohann Poiron

J’ai fondé le BlogNT en 2010. Autodidacte en matière de développement de sites en PHP, j’ai toujours poussé ma curiosité sur les sujets et les actualités du Web. Je suis actuellement engagé en tant qu’architecte interopérabilité.