Les premiers smartphones avec un écran pliable arriveront cette année, et jusqu’à présent, ils sont tous vraiment chers. Le Galaxy Fold de Samsung sera vendu à partir de 2 000 euros Le Huawei Mate X coûtera 2 299 euros. Et même le smartphone pliable FlexPai du célèbre fabricant de présentoirs Royole coûte 1 400 euros.
Les prix élevés sont probablement inévitables à ce jour, car ces smartphones rassemblent toute une série de nouvelles et coûteuses technologies. Mais, il semblerait que Motorola aurait peut-être trouvé au moins un moyen de réduire les coûts de son prochain smartphone RAZR avec un écran pliable.
Selon XDA Developers, le Motorola RAZR sera alimenté par un processeur Snapdragon 710 de Qualcomm, plutôt que par une puce plus chère (et plus puissante), comme le processeur Snapdragon 855 qui équipe et va équiper la majorité des flagships de l’année
Cela signifie-t-il que vous pourrez acheter un RAZR pour moins de 1 000 euros ? Probablement pas. Lorsque le Wall Street Journal a annoncé pour la première fois que Motorola rapportait le nom RAZR pour un nouveau smartphone pliable, la publication indiquait qu’il serait probablement vendu aux alentours des 1 500 dollars. Mais, cela reste toujours en deçà du prix réclamé par Samsung et Huawei.

Un grand écran de 6,2 pouces
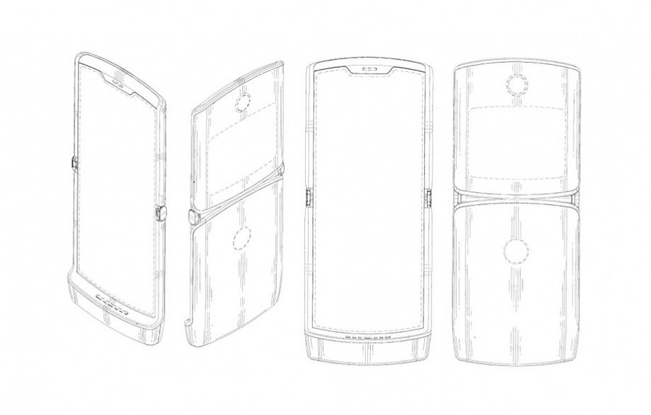
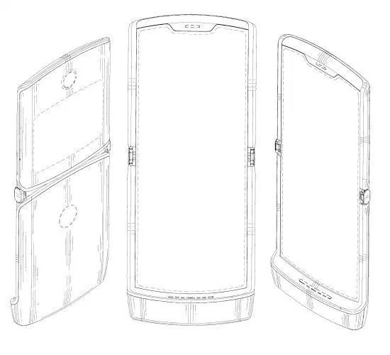
XDA Developers a déclaré que ses informations provenaient d’une source proche des projets de Motorola. Cette source confirme également que les dessins soumis par Motorola avec une demande de brevet sont fondamentalement précis, ce qui signifie que l’image en haut de cet article donne probablement une bonne idée de ce à quoi le smartphone ressemblera.
Parmi les autres détails de l’article XDA Developers, notons que le smartphone aura un écran principal de 6,2 pouces d’une résolution de 2 142 x 876 pixels et un écran secondaire d’une résolution de 800 x 600 pixels. En outre, sous le capot, il aurait 4 Go à 6 Go de mémoire vive (RAM), 64 Go à 128 Go de stockage interne, une batterie d’une capacité de 2 730 mAh. Le Motorola RAZR sera disponible dans les coloris noir, blanc et or.
Un écran secondaire utilisable
Le smartphone est censé se plier en deux comme un téléphone à clapet traditionnel, couvrant l’écran principal. Dans ce mode, vous pourrez toujours utiliser l’écran secondaire pour afficher l’heure, les notifications, certains paramètres et d’autres fonctionnalités.

Lorsque le smartphone est déployé, vous pouvez également utiliser l’écran secondaire comme pavé tactile pour faire défiler des pages Web ou effectuer d’autres actions en déplaçant votre doigt le long de l’écran lorsqu’il se trouve à l’arrière du smartphone. Vous pouvez également retourner le smartphone et utiliser la caméra principale pour prendre des photos ou passer des appels vidéo, tout en utilisant le plus petit écran comme viseur.
Motorola cherchera sans aucun doute à capitaliser sur la valeur de marque que le nom RAZR conserve toujours !



