fermer
Smartphones

Le Motorola RAZR pliable suggère un utile second écran

Motorola Razr Patent Feature Image

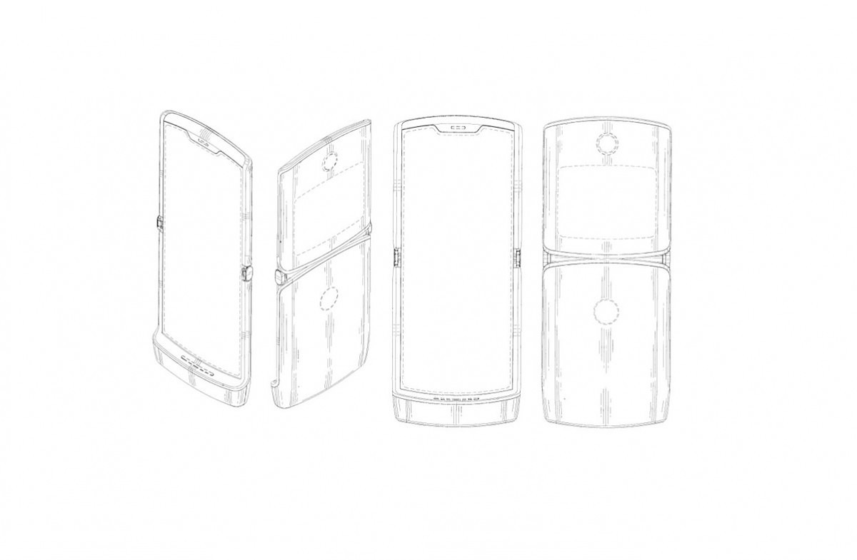
Selon les dernières rumeurs, le premier smartphone de Motorola avec un écran pliable comportera un design analogue à celui d’un téléphone à clapet traditionnel, et pourrait même être vendu sous la traditionnelle marque RAZR.

Alors que Samsung, Huawei et d’autres sociétés utilisent une technologie d’écran flexible pour produire des smartphones dépliables, l’appareil de Motorola ressemblera probablement à un smartphone traditionnel lorsqu’il sera déplié, et se pliera en deux pour occuper moins d’espace dans votre poche ou dans votre sac.

Mais, cela ne signifie pas nécessairement qu’il sera inutile une fois plié. Les personnes chez XDA Developers rapportent que le smartphone a un écran secondaire qui vous permet d’interagir avec le smartphone même s’il est fermé, bien que vous ne profitiez pas de l’expérience Android complète lorsque vous utilisez seulement cet écran. Mais, les deux écrans tactiles du smartphone fonctionneront apparemment de manière intéressante.

Lorsque le smartphone est plié en deux, vous pourrez utiliser le plus petit écran pour afficher l’heure, la date, les notifications et d’autres informations. Vous pouvez également voir jusqu’à 6 vignettes de paramètres rapides. Et, vous pourrez voir l’animation de Google Assistant si vous parlez au service vocal de Google lorsque l’écran est fermé.

Un second petit écran très utile

razr

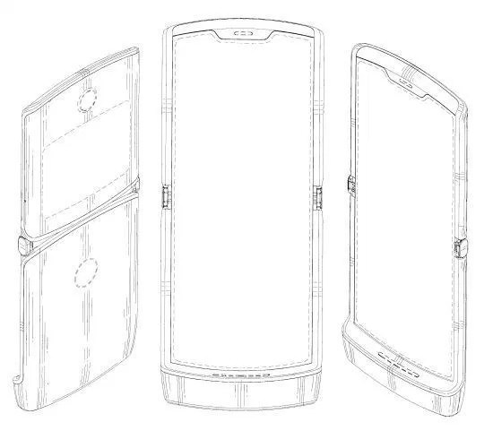
Les choses deviennent plus intéressantes lorsque vous ouvrez le smartphone, de sorte que « l’écran fermé » se trouve à l’arrière. Lorsque cela se produit, vous pouvez utiliser le plus petit écran comme pavé tactile, ce qui vous permet par exemple de faire défiler des pages Web en déplaçant votre doigt sur l’arrière du smartphone plutôt qu’en couvrant une partie de l’écran à l’avant de celui-ci.

Vous pouvez également faire pivoter le smartphone pour que le petit écran serve de viseur lorsque vous prenez un selfie ou effectuez un appel vidéo. Dans ce mode, vous pouvez appuyer sur le grand écran qui se trouve maintenant à l’arrière pour prendre une photo, transformant ainsi le grand écran en bouton de prise de vue.

Selon XDA Developers, ces détails proviennent d’une seule source, il faudra donc les prendre avec des pincettes pour le moment. Néanmoins, il ne fait aucun doute que la société travaille sur un tel périphérique.

Tags : MotorolaRAZR
Yohann Poiron

The author Yohann Poiron

J’ai fondé le BlogNT en 2010. Autodidacte en matière de développement de sites en PHP, j’ai toujours poussé ma curiosité sur les sujets et les actualités du Web. Je suis actuellement engagé en tant qu’architecte interopérabilité.