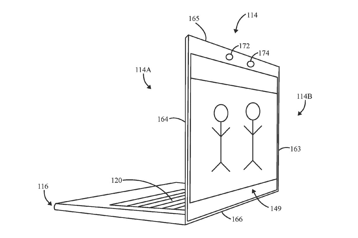
Le Bureau américain des brevets et des marques de commerce (USPTO) a publié une demande de brevet déposée par Lenovo qui décrit un ordinateur portable arborant un écran souple qui entoure le capot. Cet écran est divisé en deux zones : la fenêtre principale (à l’avant) que vous voyez habituellement sur les ordinateurs portables et la zone enveloppante qui peut s’étendre ou non sur la surface du couvercle (à l’arrière).
Lenovo semble prendre des inspirations sur Samsung, adoptant l’approche à plus grande échelle pour un ordinateur portable. Samsung a présenté son premier smartphone « Edge » en 2015 avec un écran flexible qui se plie sur les côtés sans déborder sur l’arrière. Ces deux « bords » peuvent fournir d’utiles informations alors que l’écran principal est désactivé, comme les notifications, les flux d’actualités, la météo, etc.
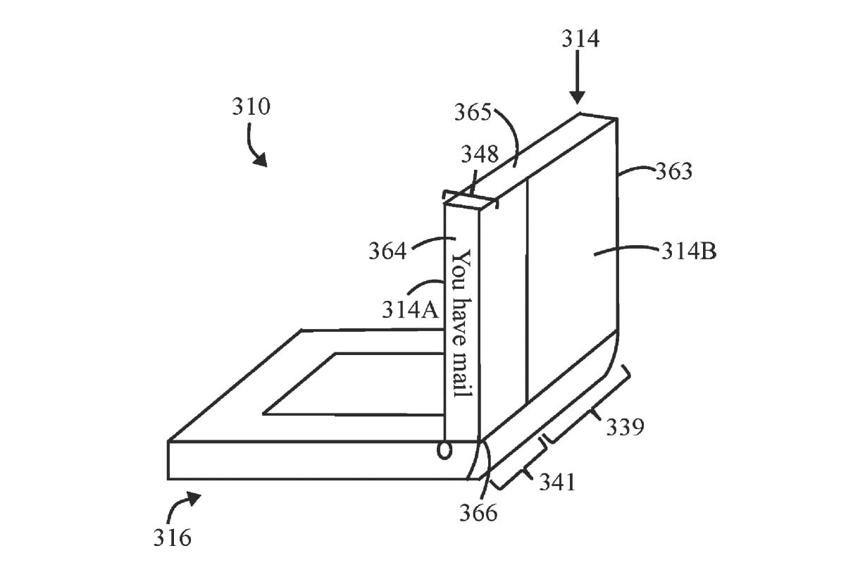
Lenovo vise une idée similaire. Dans un diagramme, Lenovo illustre un ordinateur portable qui ne fait que courber l’écran vers une petite zone sur la surface arrière. Avec cet exemple, l’écran flexible ne présenterait que des notifications sur le côté et sur une étroite bande verticale à l’arrière. Il est fort probable que cette fonctionnalité serait utile lorsque le couvercle de l’ordinateur portable est fermé.
Un autre diagramme montre la conception qui étend l’écran flexible sur toute la face arrière plutôt que simplement sur la charnière à l’arrière. Des micros et des caméras supplémentaires sont également présents sur la coque arrière « pour fournir un champ de vision et un champ audio dirigés à l’arrière ». Selon le diagramme, Lenovo essaie de prendre en charge les appels vidéo sans que personne survole le clavier.

Redessiner le PC convertible ?
La demande de brevet suggère que Lenovo cherche à améliorer, voire redessiner, le PC convertible. Bien que ces appareils aient des charnières à 360 degrés permettant quatre facteurs de forme différents, Lenovo fait valoir qu’ils sont problématiques étant donné la façon dont ils sont fabriqués et passent d’un facteur de forme physique à un autre.
Dans cette mesure, le brevet de Lenovo devient plus clair. Plutôt que de replier le clavier sous l’écran pour utiliser le PC comme une tablette, il suffit de fermer le capot de l’ordinateur portable et d’utiliser plutôt l’écran arrière pour l’utiliser comme une tablette. En mode « ordinateur portable », le périphérique utiliserait l’écran principal à l’avant tandis que le mode cinéma utiliserait l’écran secondaire à l’arrière. Pour les notifications, la conception de Lenovo détermine quel écran est actuellement actif et restitue le message de manière appropriée.
Lenovo a déposé sa demande de brevet auprès de son siège social en Caroline du Nord le 4 novembre 2016, et l’on peut espérer qu’un tel périphérique voit le jour dans un proche avenir !



