Un nouveau brevet découvert par Galaxy Club montre que Samsung pourrait travailler sur une nouvelle façon d’identifier les utilisateurs : les modèles de flux sanguin. Ainsi, si vous ne voulez pas déverrouiller votre smartphone avec votre empreinte digitale ou votre visage, alors les battements de votre cœur pourraient être la meilleure nouvelle option.
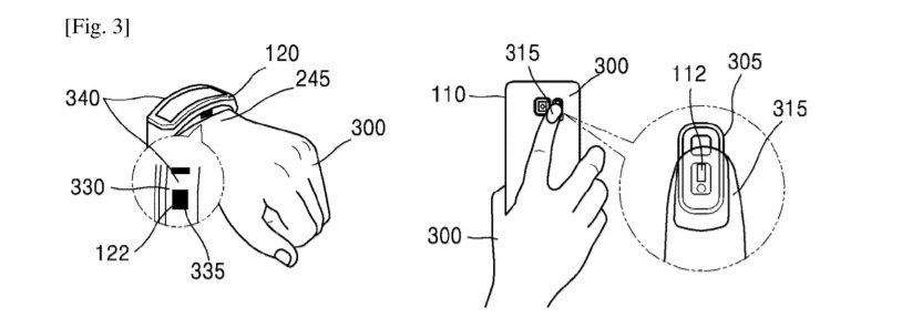
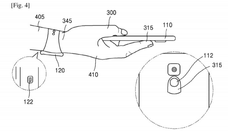
Selon le brevet, «the arterial conduction paths of different users are almost never identical», entendez par là «les voies de conduction artérielle des différents utilisateurs ne sont presque jamais identiques», et donc un smartphone ou une smartwatch pourrait prouver qui vous êtes, et ainsi débloquer vos gadgets sans avoir besoin d’un code PIN ou tout autre type d’authentification.
L’application évidente pour ce type de technologie serait dans les wearables, tels que la Gear S3. Si un appareil peut lire vos schémas de débit sanguin sans avoir à lever le petit doigt, la confirmation des paiements mobiles ou l’accès aux comptes pourrait être presque instantané.
Un tel capteur pour le Galaxy S9 ?

Bien que ce soit uniquement un brevet, l’industrie dans son ensemble s’oriente vers des mesures biométriques pour vérifier les identités, plutôt que des mots de passe et des codes PIN. Jusqu’ici, nous avons vu des scanners d’iris et des capteurs d’empreintes digitales qui sont beaucoup plus utilisés ces dernières années. Avoir un scanner de flux sanguin pourrait même fonctionner en conjonction avec un scanner d’empreintes digitales, renforçant ainsi la sécurité des dispositifs, et éviter que les pirates dérivent la technologie pour accéder au smartphone. En plus d’accorder l’accès à un appareil, il pourrait également débloquer l’accès à certains comptes ou fichiers sensibles.
Comme toujours avec les dépôts de brevets, ce n’est pas une garantie que la technologie verra le jour. Mais, celui-ci montre simplement que Samsung travaille au moins sur l’idée d’un scanner de flux sanguin. Mais si un tel capteur apparaît dans le Samsung Galaxy S9, ne soyez pas surpris.



