Apple continue de creuser la piste des écrans flexibles, mais contrairement aux smartphones pliables à charnière comme les Galaxy Z Fold ou les Pixel Fold, la marque à la pomme semble parier sur un design déroulable façon parchemin. Un nouveau brevet déposé par Apple, intitulé « Electronic Device With Flexible Display Structures », révèle une approche inédite et élégante de l’écran extensible.
Dans ce brevet, Apple imagine un écran enroulé à l’intérieur d’un boîtier rigide. Il peut être déroulé latéralement grâce à des rouleaux motorisés, offrant ainsi un grand écran tout en restant compact au repos.
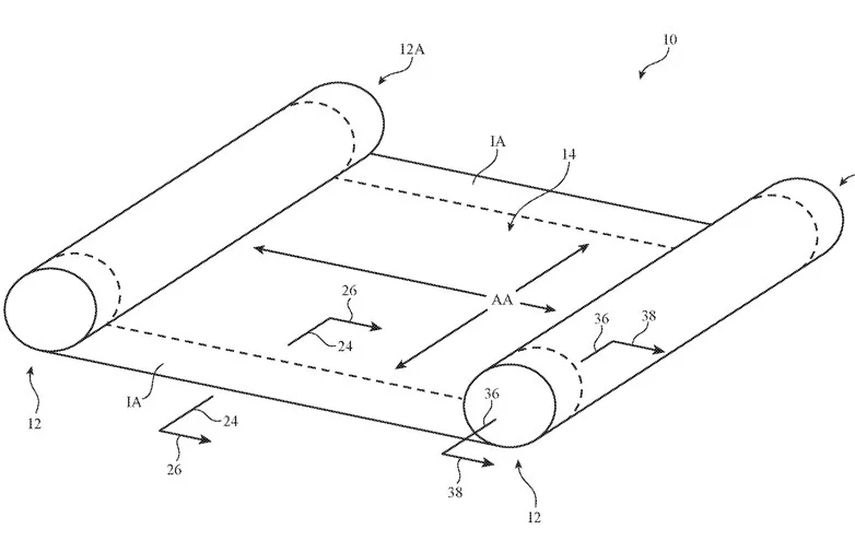
Contrairement aux designs pliables actuels, l’écran n’a ni pli visible ni charnière apparente. Il resterait parfaitement tendu et fonctionnel, même lorsqu’il est partiellement déployé, grâce à des supports bi-stables qui assurent la rigidité de la dalle souple.

Des « fenêtres d’affichage » même écran roulé
L’innovation ne s’arrête pas là : même lorsque l’écran est totalement rangé, l’appareil pourrait afficher des informations contextuelles via des fenêtres transparentes intégrées dans le boîtier. Une sorte d’écran toujours actif, visible à travers l’enveloppe du dispositif, comme une extension miniature de l’écran principal.
Le brevet évoque la possibilité d’intégrer ce mécanisme non seulement dans un iPhone ou un iPad, mais aussi dans des lunettes connectées, des pendentifs intelligents, ou encore des montres. Une approche modulaire proche des concepts déjà présentés par Samsung, Motorola ou TCL, qui ont montré des prototypes d’écrans déroulables.
Un concept qu’Apple retravaille depuis… 2017
Ce n’est pas la première fois qu’Apple s’intéresse à cette idée. Ce dépôt est en réalité la sixième mise à jour d’un brevet initial datant de 2017. L’équipe en charge a affiné au fil du temps les questions de durabilité des matériaux souples, compacité du boîtier une fois replié, et fluidité de déploiement de l’écran.
La multiplication des mises à jour suggère qu’Apple ne lâche pas l’affaire, et attend sans doute le bon moment technologique et industriel pour sortir ce « scroll numérique » de sa manche.
Vers une alternative au pliable… made in Apple ?
Alors que les rumeurs autour d’un iPhone pliable prévu pour 2026 se multiplient, cette relance du projet « enroulable » pourrait signaler un changement de cap : Apple pourrait court-circuiter les pliables à charnière en proposant une alternative plus fluide, plus esthétique et plus compacte.
Mais attention : comme toujours avec les brevets Apple, rien ne garantit que ce projet aboutira à un produit commercialisé. Néanmoins, le fait que la marque réactualise ce brevet six fois en huit ans est un indice fort de son intérêt stratégique.
Apple semble plus que jamais déterminée à réinventer la manière dont nous interagissons avec les écrans mobiles. Le design déroulable façon parchemin, sans pli ni charnière, pourrait bien être la réponse maison aux défis du pliable. Reste à savoir si — et quand — ce concept passera de la planche technique à nos poches.



