La Surface Andromeda est l’un des produits les plus attendus jamais développés par Microsoft. Bien que rien n’indique que ce périphérique va voir le jour, les rapports discutant de ce dernier indiquent de temps à autre que le géant basé à Redmond souhaite le rendre réellement innovant.
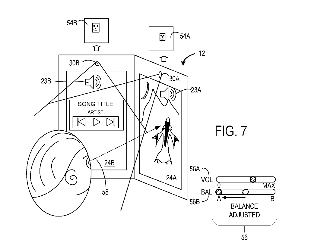
Un brevet récemment découvert fournit un rapide aperçu d’une telle innovation. Microsoft explore un moyen d’ajuster automatiquement le volume d’Andromeda en n’utilisant que le système de reconnaissance faciale.
À première vue, une telle approche a du sens. Andromeda est supposée être un appareil à double écran, afin que les utilisateurs puissent exécuter des applications indépendamment de l’écran sur lequel il est.
Avec la fonction de reconnaissance faciale, Andromeda serait capable de déterminer l’écran que vous regardez puis d’ajuster le volume en conséquence. Cela permet d’implémenter une série d’autres fonctionnalités, comme la mise en sourdine lorsqu’aucun visage n’est détecté, ou l’augmentation du volume lorsque vous jouez et que vous êtes éloigné’êtes pas trop près de l’appareil.

Allons-nous le voir l’année prochaine ?
L’objectif principal avec ce brevet est de faire d’Andromeda un appareil offrant une expérience audio cohérente, quels que soient les applications en cours d’exécution, l’environnement ou les conditions. De plus, Microsoft pourrait utiliser des informations provenant d’autres composants de l’appareil, tels que la charnière, qui peuvent transmettre l’orientation de l’écran afin d’aider le réglage automatique avec précision du volume.
Alors qu’Andromeda est encore un projet incertain à ce jour, Microsoft semble examiner chaque détail pour tenter de le résoudre correctement. Sans aucun doute, c’est la bonne approche, même si cela vaut également la peine de souligner que Microsoft ne peut pas se permettre un énième retard avec ce projet Andromeda. Donc quoi qu’elle fasse, elle devrait le faire plus rapidement, car les gens s’attendent à ce qu’Andromeda voie le jour l’année prochaine et un nouveau retard ne ferait que nourrir les critiques et créer davantage de frustration chez les utilisateurs du monde entier.



