Apple a obtenu un brevet le 28 novembre, initialement déposé en 2016, pour une technologie qui pourrait apporter la technologie Face ID à l’iMac et au MacBook. Le brevet utilise la technologie de PixelSense, une entreprise acquise par Apple en 2013, selon MacRumors. Cette technologie a été la base de la fonctionnalité Kinect de la Xbox One, et est finalement devenue partie de la caméra TrueDepth sur le devant du nouvel iPhone X — celui qui peint votre visage avec des points infrarouges pour le Face ID.
Les détails du brevet prévoient un appareil qui pourrait être placé sur un Mac comme une webcam, et détecter non seulement votre visage, mais vos mouvements. Cette implémentation, en tant que périphérique, semble peu probable pour un produit Apple. Étant donné que le capteur Touch ID a été intégré dans la dernière gamme de MacBook Pro, plutôt que d’être vendu comme une option, il semble probable qu’Apple intégrerait une caméra de type TrueDepth dans une nouvelle gamme de Mac et de MacBook.
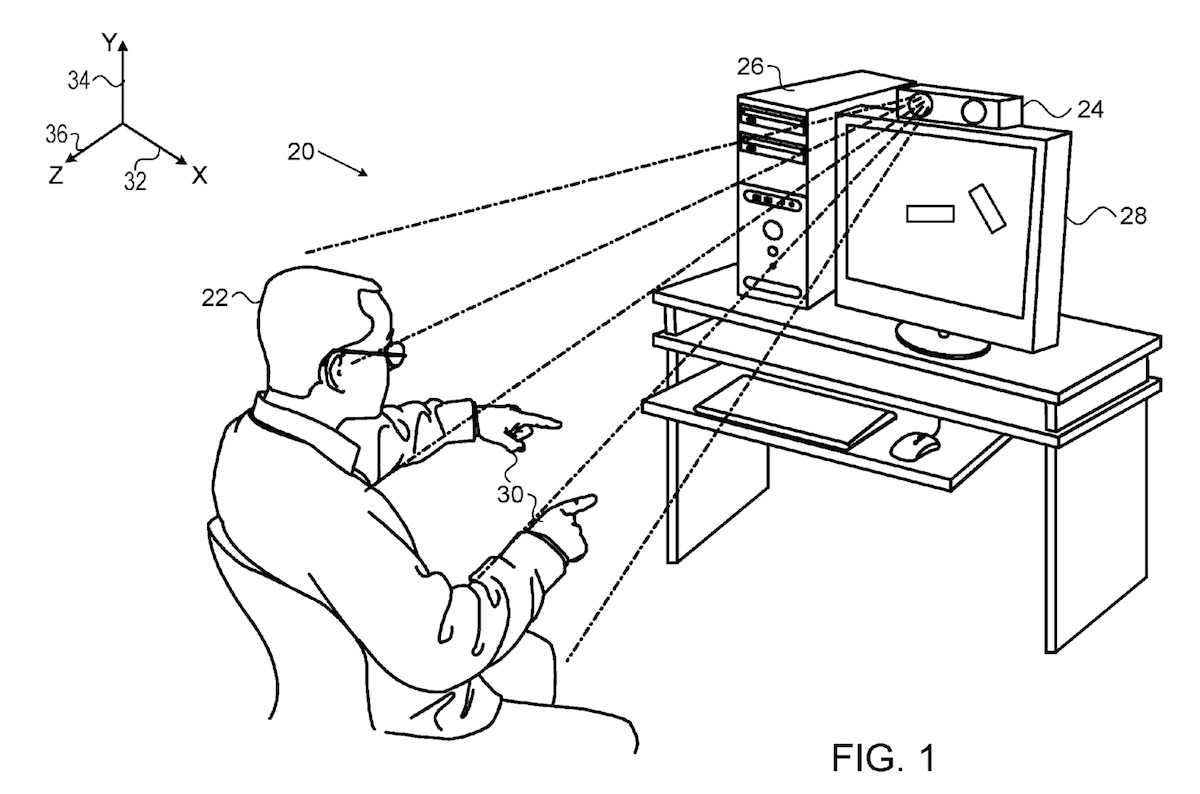
Les images dans le brevet montrent comment la caméra peut déverrouiller votre ordinateur. Le brevet décrit l’utilisation de gestes comme le push (pression) et le swipe (balayer) pour contrôler les éléments à l’écran, analogue à la façon dont les propriétaires de Kinect pouvaient contrôler l’interface à l’écran sur la Xbox One avec des gestes simples. En outre, le brevet suggère que les utilisateurs pourraient coupler la technologie Face ID avec des gestes pour déverrouiller les appareils compatibles, en ajoutant une autre couche de sécurité.
Face ID pour les Macs en 2018 ?
« Un geste de déverrouillage permet à l’utilisateur d’afficher une interface utilisateur 3D non tactile verrouillée, car le fait d’appuyer sur une séquence spécifique de touches déverrouille un smartphone cellulaire verrouillé. Dans certains modes de réalisation, l’interface utilisateur 3D non tactile transmet une rétroaction visuelle à l’utilisateur effectuant les gestes de déverrouillage », lit-on dans le brevet.

Bien que ce ne soit que spéculation à ce jour, le brevet arrive à un moment intéressant pour Apple. Avec la sortie récente de l’iPhone X, Face ID est une technologie qui devient aussi familière et fiable que le Touch ID. Malgré le fait qu’il ait fallu un certain temps à Apple pour le glisser dans le MacBook Pro, les choses pourraient aller plus vite avec la technologie Face ID, étant donné le choix d’unifier toutes ses fonctionnalités sur ses appareils.
Même si nous ne le verrons peut-être pas cette année, il est tout à fait possible que nous puissions voir un MacBook ou un iMac avec la technologie Face ID plus tôt que plus tard.



